欢迎来到知嘟嘟! 联系电话:13336804447 卖家免费入驻,海量在线求购! 卖家免费入驻,海量在线求购!
知嘟嘟
我要发布
联系电话:13336804447
知嘟嘟经纪人
收藏
专利号: 2017109920099
申请人: 长春理工大学
专利类型:发明专利
专利状态:已下证
专利领域: 光学
更新日期:2024-02-26
缴费截止日期: 暂无
价格&联系人
年费信息
委托购买

摘要:

权利要求书:

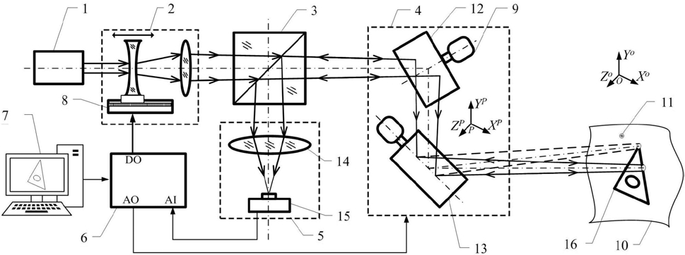
1.一种基于对称离焦双探测器的自聚焦激光扫描投影装置,其组成部分包括激光器(1)、双轴扫描振镜(4)、测量控制模块(6)、计算机(7),计算机(7)与测量控制模块(6)连接;

测量控制模块(6)的扫描驱动信号输出端连接到双轴扫描振镜(4)中的精密转角机构(9),所述测量控制模块(6)是一块多功能数据采集卡;其特征在于,激光器(1)、扩束准直镜组(17)、动态自聚焦模块(18)、偏振分光棱镜(19)、1/4波片(20)依次同轴排列;在偏振分光棱镜(19)的扫描透射光光路上,且在1/4波片(20)之后设置双轴扫描振镜(4);在偏振分光棱镜(19)的标定反射光光路上设置对称离焦双探测器光强探测模块(21);在对称离焦双探测器光强探测模块(21)中,在分光棱镜(22)的透射、反射光路上各配备一组汇聚物镜(14)、点探测针孔(23)和光电探测器(15),点探测针孔(23)位于汇聚物镜(14)与光电探测器(15)之间,两个光电探测器(15)的感光面分别相对于各自对应的汇聚物镜(14)离焦+ΔZ、-ΔZ;两个光电探测器(15)各自的光强电信号输出端分别连接到测量控制模块(6)的两个光强模拟信号输入端;测量控制模块(6)的调焦驱动信号输出端连接到动态自聚焦模块(18)中的精密位移机构(8)。

2.根据权利要求1所述的基于对称离焦双探测器的自聚焦激光扫描投影装置,其特征在于,扩束准直镜组(17)能够压缩来自于激光器(1)的扫描投影激光的发散角,并扩束至接近动态自聚焦模块(18)中的汇聚镜组满瞳的状态,增大了动态自聚焦模块(18)中的汇聚镜组的数值孔径,进而压缩扫描投影激光照射到投影承接区域(10)上的光斑尺寸。

3.根据权利要求1所述的基于对称离焦双探测器的自聚焦激光扫描投影装置,其特征在于,在扩束准直镜组(17)中设置照明针孔(24),使得激光器(1)发出的激光以点照明的方式工作,同时消除杂散光干扰,提高光束质量,进一步减小光斑尺寸,在投影承接区域(10)中获得更理想的汇聚光斑。

4.根据权利要求1所述的基于对称离焦双探测器的自聚焦激光扫描投影装置,其特征在于,在动态自聚焦模块(18)中,调焦透镜(25)安装于精密位移机构(8)上,实现扫描投影激光光斑的轴向自聚焦。

5.根据权利要求1所述的基于对称离焦双探测器的自聚焦激光扫描投影装置,其特征在于,在与偏振分光棱镜(19)标定反射光光路相反的光路上设置陷波汇聚物镜(26)和陷波滤波器(27),用于消除杂散光干扰。