欢迎来到知嘟嘟! 联系电话:13336804447 卖家免费入驻,海量在线求购! 卖家免费入驻,海量在线求购!
知嘟嘟
我要发布
联系电话:13336804447
知嘟嘟经纪人
收藏
专利号: 202110766398X
申请人: 威海海洋职业学院
专利类型:发明专利
专利状态:已下证
专利领域: 家具;家庭用的物品或设备;咖啡磨;香料磨;一般吸尘器
更新日期:2024-12-10
缴费截止日期: 暂无
价格&联系人
年费信息
委托购买

摘要:

权利要求书:

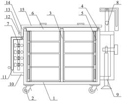
1.一种用于企业财务的会计管理装置,包括管理箱(1),移动刹车轮(2),中心板(3),固定盖(4),U型滑轨(5),可插接分类标注管理架结构(6),可转动插接吸附存放架结构(7),可滑动推动整理板结构(8),可插接吸附支撑架结构(9),U型架(10),倒L型固定槽(11),固定杆(12),翼形螺母(13),转动板(14)和压覆杆(15),所述的移动刹车轮(2)分别螺栓连接在管理箱(1)的下端四角位置;所述的中心板(3)螺栓连接在管理箱(1)的内壁中间位置;所述的固定盖(4)螺栓连接在管理箱(1)的上端;所述的U型滑轨(5)分别螺栓连接在管理箱(1)的正表面内壁左右两侧和后表面内壁左右两侧;所述的U型架(10)螺栓连接在管理箱(1)的左侧中间位置;所述的倒L型固定槽(11)开设在U型架(10)的上端左侧中间位置;所述的固定杆(12)螺栓连接在管理箱(1)的左侧上部前面中间位置;所述的翼形螺母(13)螺纹连接在固定杆(12)的外壁左侧;所述的转动板(14)的下端套接在固定杆(12)的外壁右侧;所述的压覆杆(15)的左端螺栓连接在转动板(14)的右侧上部;其特征在于,该用于企业财务的会计管理装置中所述的可插接分类标注管理架结构(6)分别安装在U型滑轨(5)之间;所述的可转动插接吸附存放架结构(7)安装在倒L型固定槽(11)的内部;所述的可滑动推动整理板结构(8)安装在管理箱(1)的右侧上部;所述的可插接吸附支撑架结构(9)安装在管理箱(1)的右侧下部;所述的可插接分类标注管理架结构(6)包括T型盖(61),支撑板(62),固定板(63),放置板(64),标注板(65)和提拉杆(66),所述的支撑板(62)的上端螺栓连接在T型盖(61)的下端右侧;所述的固定板(63)的上端螺栓连接在T型盖(61)的下端左侧中间位置;

所述的放置板(64)从上到下依次螺栓连接在支撑板(62)和固定板(63)之间;所述的标注板(65)从上到下依次胶接在固定板(63)的正表面;所述的提拉杆(66)螺栓连接在T型盖(61)的上端中间位置。

2.如权利要求1所述的用于企业财务的会计管理装置,其特征在于,所述的可转动插接吸附存放架结构(7)包括倒L型转动架(71),放置架(72),插接槽(73),吸附槽(74),印章体(75),吸附块(76)和拉动杆(77),所述的放置架(72)的上端螺栓连接在倒L型转动架(71)的内部顶端中间位置;所述的插接槽(73)从上到下依次开设在放置架(72)的正表面;所述的吸附槽(74)从上到下依次开设在放置架(72)的正表面;所述的印章体(75)分别插接在插接槽(73)的内部;所述的吸附块(76)分别插接在吸附槽(74)的内部且与放置架(72)吸附设置;所述的拉动杆(77)螺栓连接在倒L型转动架(71)的左侧下部中间位置。

3.如权利要求1所述的用于企业财务的会计管理装置,其特征在于,所述的可滑动推动整理板结构(8)包括连接板(81),第一支撑架(82),推动杆(83),滑动杆(84),倒L型整理板(85)和滑槽(86),所述的第一支撑架(82)的下端螺栓连接在连接板(81)的上端中间位置;

所述的推动杆(83)螺栓连接在第一支撑架(82)的内壁下部中间位置;所述的滑动杆(84)贯穿第一支撑架(82)的上端内部中间位置;所述的第一支撑架(82)的上端滑动插接在倒L型整理板(85)内部开设的滑孔中;所述的滑槽(86)开设在倒L型整理板(85)的内部开设的滑孔内壁中间位置;所述的滑动杆(84)滑动插接在滑槽(86)的内部。

4.如权利要求1所述的用于企业财务的会计管理装置,其特征在于,所述的可插接吸附支撑架结构(9)包括第二支撑架(91),插接孔(92),斜T型插接杆(93),制动杆(94),插接环(95)和真空吸附座(96),所述的插接孔(92)开设在第二支撑架(91)的右侧上部中间位置;

所述的斜T型插接杆(93)贯穿插接孔(92);所述的制动杆(94)贯穿第二支撑架(91)的下端内部中间位置;所述的插接环(95)焊接在制动杆(94)的上端中间位置;所述的真空吸附座(96)胶接在制动杆(94)的下端。

5.如权利要求1所述的用于企业财务的会计管理装置,其特征在于,所述的固定板(63)滑动插接在U型滑轨(5)之间;所述的放置板(64)的左端设置在U型滑轨(5)之间;所述的T型盖(61)分别贯穿固定盖(4)的左右两侧内部中间位置。

6.如权利要求2所述的用于企业财务的会计管理装置,其特征在于,所述的倒L型转动架(71)的上端右侧轴接在倒L型固定槽(11)的内壁右侧中间位置;所述的倒L型转动架(71)插接在U型架(10)的左侧内部中间位置且设置在管理箱(1)的左侧中间位置。

7.如权利要求3所述的用于企业财务的会计管理装置,其特征在于,所述的连接板(81)螺栓连接在管理箱(1)的右侧上部;所述的第一支撑架(82)采用长方体的不锈钢架且设置在连接板(81)和倒L型整理板(85)之间。

8.如权利要求4所述的用于企业财务的会计管理装置,其特征在于,所述的第二支撑架(91)的下端左侧螺栓连接在管理箱(1)的右侧下部;所述的制动杆(94)设置在管理箱(1)的右侧中间位置。