欢迎来到知嘟嘟! 联系电话:13336804447 卖家免费入驻,海量在线求购! 卖家免费入驻,海量在线求购!
知嘟嘟
我要发布
联系电话:13336804447
知嘟嘟经纪人
收藏
专利号: 202110729107X
申请人: 广东省粤科云创信息科技有限公司
专利类型:发明专利
专利状态:已下证
专利领域: 一般车辆
更新日期:2025-12-24
缴费截止日期: 暂无
价格&联系人
年费信息
委托购买

摘要:

权利要求书:

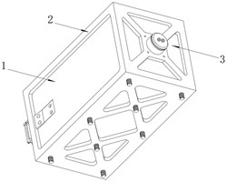
1.一种新能源汽车电源固定装置,包括限位固定组件(2)和安装在其内部的电源组件(1)与安装在其端部的导电组件(3),其特征在于:所述电源组件(1)由电池主体(101)和其端部两侧的弹性卡条(102)构成,所述电池主体(101)一端两侧各开有一个侧口(1011),所述弹性卡条(102)设置在侧口(1011)内部,所述弹性卡条(102)开有四个扳手孔(1022)和四个与其位置对应的条螺丝孔(1023),所述扳手孔(1022)所在一侧的弹性卡条(102)上设有卡块(1021),所述卡块(1021)卡在限位固定组件(2)侧面开口的边缘上。

2.根据权利要求1所述的一种新能源汽车电源固定装置,其特征在于:所述弹性卡条(102)的开放端各设有一个把手(1024),所述条螺丝孔(1023)位于卡块(1021)对向的弹性卡条(102)上,所述条螺丝孔(1023)内部设有卡条螺丝(105),所述卡条螺丝(105)拧入侧口(1011)内部的螺纹孔中,所述电池主体(101)朝向导电组件(3)的一端中央设有电池接触部(1012),所述电池接触部(1012)内设有三个与电池主体(101)内部电性连接的导电管(1013),两个把手(1024)之间设有保险条(103)。

3.根据权利要求2所述的一种新能源汽车电源固定装置,其特征在于:所述卡块(1021)相邻的把手(1024)中开有把轴孔(1025),所述把轴孔(1025)内部固定有保险轴(104),所述保险轴孔(1033)包括三个搭片(1034)与一条扣条(1031),所述扣条(1031)端部开有食指孔(1032)中部开有保险轴孔(1033),所述保险轴(104)的剩余部分位于保险轴孔(1033)内部。

4.根据权利要求3所述的一种新能源汽车电源固定装置,其特征在于:所述限位固定组件(2)包括框状的限位框(201),所述限位框(201)底部开有若干个框沉孔(2011),所述限位框(201)的封闭端中央开有矩形槽(2012),所述矩形槽(2012)中央开有槽通口(2013),所述矩形槽(2012)内开有四个矩形阵列分布的矩槽螺纹孔(2014),所述框沉孔(2011)内部设有将其与车辆连接的框连接螺丝(202)。

5.根据权利要求4所述的一种新能源汽车电源固定装置,其特征在于:所述导电组件(3)位于(2031)和矩形槽(2012)中,所述导电组件(3)包括圆矩容纳件(307)和其内部的接线插柱(306),所述圆矩容纳件(307)的一端为矩形的矩形片(3071),所述矩形片(3071)位于限位固定组件(2)中的矩形槽(2012)内部,所述矩形片(3071)直角端的矩片边孔(3072)内设有拧入矩槽螺纹孔(2014)中的容纳件螺丝(308),所述圆矩容纳件(307)位于槽通口(2013)内部,所述圆矩容纳件(307)内部开有三个环形阵列分布的插柱孔(3073),所述插柱孔(3073)为台阶孔。

6.根据权利要求5所述的一种新能源汽车电源固定装置,其特征在于:所述插柱孔(3073)容纳接线插柱(306),所述接线插柱(306)的端部为柱头(3061),所述柱头(3061)中的空腔内开有柱内螺纹孔(3063),所述柱头(3061)的空腔边缘开有线口(3062),所述柱内螺纹孔(3063)内部拧有连接端子的端子螺丝(305),所述圆矩容纳件(307)背向矩形片(3071)的一端开有两个容纳件螺纹孔(3074)和三个分别对应插柱孔(3073)的线道(3075),所述线道(3075)所在的圆矩容纳件(307)的端面与橡胶密封垫(304)贴合,所述橡胶密封垫(304)与压片(303)贴合,所述压片(303)和橡胶密封垫(304)中的通孔内设有穿过垫片(302)的密封螺丝(301),所述密封螺丝(301)拧入容纳件螺纹孔(3074)内部。

7.根据权利要求5所述的一种新能源汽车电源固定装置,其特征在于:所述矩形片(3071)背向圆矩容纳件(307)的表面上开有内圈孔(3076),所述内圈孔(3076)内部开有三条(3077),所述(3077)位于其相邻的插柱孔(3073)外侧,所述内圈孔(3076)内部粘接固定有外密封圈(309),所述(3077)内部粘接固定有内密封圈(310)。

8.根据权利要求4所述的一种新能源汽车电源固定装置,其特征在于:所述限位框(201)为铝合金材质的一体式结构,所述限位框(201)采用便于散热的框架式设计,所述限位框(201)底部的开口避开框沉孔(2011)。

9.根据权利要求2所述的一种新能源汽车电源固定装置,其特征在于:所述弹性卡条(102)和保险条(103)均为铝合金板冲压制成的一体式结构,所述卡块(1021)外部做加硬处理。

10.根据权利要求2所述的一种新能源汽车电源固定装置,其特征在于:所述把手(1024)内部和外部的尖锐边缘均做圆角处理,所述保险条(103)中部的宽度尺寸等于两个把手(1024)之间的间隙尺寸。