欢迎来到知嘟嘟! 联系电话:13336804447 卖家免费入驻,海量在线求购! 卖家免费入驻,海量在线求购!
知嘟嘟
我要发布
联系电话:13336804447
知嘟嘟经纪人
收藏
专利号: 2020231092301
申请人: 桂林航天工业学院
专利类型:实用新型
专利状态:已下证
专利领域: 发电、变电或配电
更新日期:2023-11-27
缴费截止日期: 暂无
价格&联系人
年费信息
委托购买

摘要:

权利要求书:

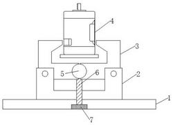
1.一种新能源汽车用电机固定座,包括固定架(1),其特征在于:所述固定架(1)的顶端固定有底座(2),且底座(2)的内部安装有夹紧板(3),所述夹紧板(3)的内侧设置有电机(4),且夹紧板(3)的内部安装有移动球(5),所述移动球(5)的内部设置有延伸至固定架(1)内部的丝杆(6),且丝杆(6)的底端连接有旋钮(7),所述电机(4)的两侧均设置有与固定架(1)相连的固定板(8),且固定板(8)的一侧连接有固定杆(9),所述固定杆(9)的一侧设置有二号固定杆(10),且二号固定杆(10)的端面开设有插槽(11),所述固定杆(9)的一端设置有楔形杆(12),且楔形杆(12)的顶端固定有卡合块(13),所述固定杆(9)的内部开设有内部槽(14),且内部槽(14)的内部设置有移动块(15),所述移动块(15)的一侧连接有凸块(16),所述卡合块(13)的一侧位于楔形杆(12)的内部安装有复位弹簧(17)。

2.根据权利要求1所述的一种新能源汽车用电机固定座,其特征在于:所述旋钮(7)与丝杆(6)通过联轴器转动连接,所述夹紧板(3)与底座(2)通过转轴转动连接。

3.根据权利要求1所述的一种新能源汽车用电机固定座,其特征在于:所述移动球(5)的内壁设置有与丝杆(6)外壁相匹配的内螺纹,所述夹紧板(3)与移动球(5)的接触处设置有与移动球(5)外壁相契合的凹槽。

4.根据权利要求1所述的一种新能源汽车用电机固定座,其特征在于:所述电机(4)的底端固定有支撑板,且支撑板与固定板(8)固定安装。

5.根据权利要求1所述的一种新能源汽车用电机固定座,其特征在于:所述凸块(16)的外壁与插槽(11)的内壁相契合。

6.根据权利要求1所述的一种新能源汽车用电机固定座,其特征在于:所述复位弹簧(17)与楔形杆(12)的内壁连接处设置有螺栓,且复位弹簧(17)通过螺栓与楔形杆(12)固定连接,所述复位弹簧(17)与卡合块(13)的连接处设置有螺栓,且复位弹簧(17)与卡合块(13)通过螺栓固定连接。