欢迎来到知嘟嘟! 联系电话:13336804447 卖家免费入驻,海量在线求购! 卖家免费入驻,海量在线求购!
知嘟嘟
我要发布
联系电话:13336804447
知嘟嘟经纪人
收藏
专利号: 2021106171954
申请人: 刘萍
专利类型:发明专利
专利状态:授权未缴费
专利领域: 工程元件或部件;为产生和保持机器或设备的有效运行的一般措施;一般绝热
更新日期:2024-05-21
缴费截止日期: 暂无
价格&联系人
年费信息
委托购买

摘要:

权利要求书:

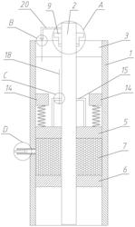
1.一种垃圾填埋场的多功能监测井井口封堵装置,包括竖向的井管(1),其特征在于,所述的井管(1)内同轴设有监测管(2),井管(1)上端通过端盖(3)进行封堵,端盖(3)上设有用于泄压的第一单向阀(4);井管(1)内的监测管(2)上套装有上堵头(5),上堵头(5)能在井管(1)内上下移动,上堵头(5)下方设有固定在井管(1)内壁上的下堵头(6),上堵头(5)和下堵头(6)之间设有加料装置,加料装置将橡胶颗粒(7)充入上堵头(5)和下堵头(6)之间,上堵头(5)向下移动挤压橡胶颗粒(7),使井管(1)和监测管(2)之间形成封堵;上堵头(5)上方设有储气室,储气室将上堵头(5)上端面和监测管(2)均部分包裹,储气室上设有第二单向阀(8);上堵头(5)和下堵头(6)之间的橡胶颗粒(7)失效导致下堵头(6)下方的高压气体泄漏至储气室,高压气体推动储气室和上堵头(5)向上移动,使橡胶颗粒(7)之间挤压力减小,直至触发加料装置对上堵头(5)和下堵头(6)之间装填橡胶颗粒(7);储气室向上移动直至触发第二单向阀(8)泄压,使上堵头(5)上下两侧气压相等,上堵头(5)向下移动挤压橡胶颗粒(7),使井管(1)和监测管(2)之间再次形成封堵;

所述的上堵头(5)中间有一个开口朝下的壳体(15),壳体(15)下端开口固定在上堵头(5)上端面上,将上堵头(5)与监测管(2)之间的缝隙包裹在壳体(15)内,壳体(15)上端与监测管(2)接触部位为滑动连接,使储气室上下移动时储气室内的气体不易泄漏;壳体(15)、上堵头(5)和监测管(2)形成的腔体为储气室。

2.根据权利要求1所述的一种垃圾填埋场的多功能监测井井口封堵装置,其特征在于,所述的端盖(3)与井管(1)之间设有密封垫,端盖(3)上置于井管(1)外侧的端面中间插装有套装在监测管(2)外缘的封堵螺帽(9),封堵螺帽(9)与端盖(3)之间设有套装在监测管(2)上的密封圈(10)。

3.根据权利要求1所述的一种垃圾填埋场的多功能监测井井口封堵装置,其特征在于,所述的加料装置包括加料管(11)、活塞(12)和推杆(13);加料管(11)插装在上堵头(5)和下堵头(6)之间的井管(1)上并与井管(1)连通,加料管(11)内装有一个活塞(12),活塞(12)左端连接有推杆(13),活塞(12)右端的加料管(11)内装有橡胶颗粒(7)。

4.根据权利要求1所述的一种垃圾填埋场的多功能监测井井口封堵装置,其特征在于,所述的井管(1)的内壁上固定有置于上堵头(5)上方的固定块(14),上堵头(5)与固定块(14)之间装有弹簧。

5.根据权利要求1所述的一种垃圾填埋场的多功能监测井井口封堵装置,其特征在于,所述的壳体(15)上端开有一个下方通孔(16),第二单向阀(8)置于下方通孔(16)的下方,下方通孔(19)上方有一个固定在壳体(15)上端面上的弹簧,弹簧上端固定有一个圆盘(17),圆盘(17)中间竖直固定有一个竖杆(18),竖杆(18)下端置于下方通孔(19)内,竖杆(18)向下移动能触发第二单向阀(8)泄压。

6.根据权利要求1所述的一种垃圾填埋场的多功能监测井井口封堵装置,其特征在于,所述的端盖(3)上开有一个上方通孔(16),第一单向阀(4)置于上方通孔(19)的上方,端盖(3)上方固定有一个通气管(20),通气管(20)一端固定在端盖(3)上方将上方通孔(19)包裹在内,通气管(20)另一端固定在井管(1)外部的监测管(2)上,并与监测管(2)连通。