欢迎来到知嘟嘟! 联系电话:13336804447 卖家免费入驻,海量在线求购! 卖家免费入驻,海量在线求购!
知嘟嘟
我要发布
联系电话:13336804447
知嘟嘟经纪人
收藏
专利号: 2018113036584
申请人: 重庆众誉材工科技有限公司
专利类型:发明专利
专利状态:授权未缴费
专利领域: 一般的物理或化学的方法或装置
更新日期:2024-02-17
缴费截止日期: 暂无
价格&联系人
年费信息
委托购买

摘要:

权利要求书:

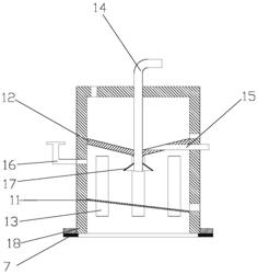
1.一种用于垃圾填埋气井的井口收集装置,其特征在于,包括收集筒和初冷凝系统,所述收集筒的为下端开口的圆筒,所述收集筒的内部从下到上依次设置有底板和冷凝板,所述底板的四周设置有多个进气短管,所述收集筒的内腔包括所述收集筒的顶部与所述冷凝板间的冷凝水腔和所述冷凝板与所述底板间的分离腔,所述收集筒的顶部设置有贯穿所述冷凝水腔与所述分离腔连通的排气管,所述初冷凝系统包括储水箱、风冷器和供水泵,所述供水泵的进口端通过第一进水管与所述储水箱的一侧的下部连通、出口端通过第二进水管与所述冷凝水腔的侧壁的下部连通,所述冷凝水腔的另一侧的顶部设置有与所述风冷器的顶部连通的第一排水管,所述风冷器与所述储水箱间设置有第二排水管;

所述冷凝板为锥形板且锥形端朝下,所述锥形端设置有排水管,所述排水管的另一端伸出所述收集筒与排水阀相连;

所述排气管的下端设置锥套,所述锥套的小端与所述排气管的外壁相连。

2.根据权利要求1所述的一种用于垃圾填埋气井的井口收集装置,其特征在于:所述底板倾斜设置且左高右低,所述收集筒的右侧壁靠近所述底板处设置有排污口,所述排污口设置有排污阀。

3.根据权利要求1所述的一种用于垃圾填埋气井的井口收集装置,其特征在于:所述排气管的端部设置有排气阀。

4.根据权利要求1所述的一种用于垃圾填埋气井的井口收集装置,其特征在于:所述收集筒的左侧外壁设置有用于连接气压表的气压表座。

5.根据权利要求1所述的一种用于垃圾填埋气井的井口收集装置,其特征在于:所述收集筒的下端外壁设置有便于将所述收集筒固定在废气井的出口的连接法兰,所连接述法兰上设置有多个固定孔,所述连接法兰与所述废气井的出口间设置有密封垫,所述密封垫采用弹性橡胶制造。