欢迎来到知嘟嘟! 联系电话:13336804447 卖家免费入驻,海量在线求购! 卖家免费入驻,海量在线求购!
知嘟嘟
我要发布
联系电话:13336804447
知嘟嘟经纪人
收藏
专利号: 2021105854605
申请人: 安徽工程大学
专利类型:发明专利
专利状态:已下证
专利领域: 控制;调节
更新日期:2023-07-17
缴费截止日期: 暂无
价格&联系人
年费信息
委托购买

摘要:

权利要求书:

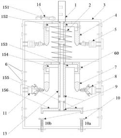
1.一种多电路可时序搭配控制开关,包括能够定向滑动的控制杆,其特征在于,还包括壳体、定位器及传导组件,其中:

所述壳体具有能够容纳控制杆上下滑动的容置腔及导入孔,且所述控制杆伸入壳体内的部分为绝缘杆;

所述绝缘杆两旁的壳体侧面上沿着绝缘杆滑动方向分别设置至少一个接线螺栓组,且每个接线螺栓组均包括接入端子和接出端子;

所述传导组件与所述接线螺栓组一一对应设置,且所述传导组件包括传导件以及传导头,传导件固定于绝缘杆上,与所述接线螺栓组的接入端子/接出端子电性连接,所述传导头固定于壳体侧面或底面,与所述接线螺栓组的接出端子/接入端子电性连接,并且随着绝缘杆的上下滑动,传导件能够与传导头电性连接或断开;

所述定位器设于顶部的导入孔一侧,包括定位器壳以及一垂直于控制杆滑动的定位销,且所述定位销能够在定位器壳内滑动并固定控制杆。

2.根据权利要求1所述的一种多电路可时序搭配控制开关,其特征在于,所述控制杆伸入壳体后在壳体厚度方向上前后设有一对绝缘杆。

3.根据权利要求1或2所述的一种多电路可时序搭配控制开关,其特征在于,所述壳体在绝缘杆的两侧各设有三个接线螺栓组。

4.根据权利要求1所述的一种多电路可时序搭配控制开关,其特征在于,所述传导头包括伸缩杆、第一连接座、第一螺纹杆及第一调节旋钮,所述伸缩杆的前端装配有导体接头,后端在第一连接座内滑动,且导体接头与第一连接座之间的伸缩杆外套设有压紧弹簧,所述导体接头前端通过滚轮轴安装有滑轮,所述第一连接座通过与其配合连接的第一螺纹杆装配在壳体内侧面,且第一螺纹杆伸出壳体外安装有用于调节第一螺纹杆转动的第一调节旋钮,所述导体接头上设有接线点,且所述接线点与滑轮通过导体接头始终保持电性连接;

所述传导件为通过接线螺栓固定在绝缘杆侧面的导体,其包括能够供所述滑轮滚动的斜面端,还包括随着绝缘杆的下行,能够始终使导体接头压缩所述压紧弹簧的工作面。

5.根据权利要求1所述的一种多电路可时序搭配控制开关,其特征在于,所述传导头包括接头、第二连接座、第二螺纹杆及第二调节旋钮,所述接头前段分叉为剪刀头状,接头后段为燕尾状,接头中段与第二连接座通过转动轴转动连接,且所述接头能够相对第二连接座顺时针或逆时针转动,呈燕尾状的所述接头后段两侧与第二连接座之间对称设有回弹弹簧,所述第二连接座通过与其配合的第二螺纹杆装配在壳体内侧面,且第二螺纹杆伸出壳体外安装有用于调节第二螺纹杆转动的第二调节旋钮,呈剪刀头状的所述接头前段由两个片状导体或者一个片状导体、一个片状绝缘体对称而成,所述接头前段还设有与所述片状导体始终保持电性连接的接线点;

所述传导件为通过接线螺栓固定在绝缘杆侧面的导体,其包括能够压迫所述接头前段并使之转动的斜面端,还包括随着绝缘杆的下行,能够始终使接头前段保持其转动角度的工作面,在所述工作面的中段开设有足够容纳所述接头前段的换向口。

6.根据权利要求1所述的一种多电路可时序搭配控制开关,其特征在于,所述传导头包括可调节导头、第三螺纹杆、回位弹簧及第三调节螺母,所述可调节导头设置于第三螺纹杆的顶端,且第三螺纹杆底端由壳体内底面伸出壳体外并螺接所述第三调节螺母,所述可调节导头与壳体内底面之间设有回位弹簧;

所述传导件固定于绝缘杆上,包括随着绝缘杆的下行,能够触接可调节导头的导体,且传导件与可调节导头上分别设有接线点。

7.根据权利要求1所述的一种多电路可时序搭配控制开关,其特征在于,所述定位销的侧面固定连接有定位销控制杆,所述定位销壳体沿着定位销滑动方向设有对应所述定位销控制杆的两个卡位,且当定位销控制杆嵌入距离控制杆较近的所述卡位内时,所述定位销前端能够伸入控制杆侧面开设的定位孔内并固定所述控制杆,当定位销控制杆嵌入距离控制杆较远的所述卡位内时,所述定位销与控制杆保持固定间隙。

8.根据权利要求1所述的一种多电路可时序搭配控制开关,其特征在于,所述壳体处于密封状态。

9.根据权利要求1所述的一种多电路可时序搭配控制开关,其特征在于,设置于绝缘杆同一高度的两侧传导件之间、沿着绝缘杆滑动方向上下设置的传导件之间均能够通过触点导接板电性连通。