欢迎来到知嘟嘟! 联系电话:13336804447 卖家免费入驻,海量在线求购! 卖家免费入驻,海量在线求购!
知嘟嘟
我要发布
联系电话:13336804447
知嘟嘟经纪人
收藏
专利号: 2022205664954
申请人: 东阿县华鑫纺织有限公司
专利类型:实用新型
专利状态:已下证
专利领域: 锁;钥匙;门窗零件;保险箱
更新日期:2025-02-26
缴费截止日期: 暂无
价格&联系人
年费信息
委托购买

摘要:

权利要求书:

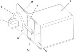
1.一种集尘棉箱节能时控开关,其特征在于,包括:集尘棉箱、开关门、调节组件、第一感应构件和第二感应构件,所述集尘棉箱上形成有进尘口,所述开关门设置在所述集尘棉箱上,并且所述开关门能够控制所述进尘口的开闭状态,所述调节组件和所述开关门相连,所述调节组件能够使得所述开关门以可移动的方式和所述集尘棉箱相连,所述开关门上设置有所述第一感应构件,所述集尘棉箱上设置有相匹配的所述第二感应构件,所述集尘棉箱通过所述第一感应构件和所述第二感应构件的相互感应来控制自身的工作状态。

2.根据权利要求1所述的集尘棉箱节能时控开关,其特征在于,所述调节组件包括转动构件、连接杆和驱动电机,所述驱动电机和所述转动构件相连,所述连接杆的一端和所述转动构件相连,且所述连接杆和所述转动构件能够发生相对移动,所述连接杆的另一端和所述开关门相连。

3.根据权利要求2所述的集尘棉箱节能时控开关,其特征在于,所述转动构件为转动圆盘。

4.根据权利要求3所述的集尘棉箱节能时控开关,其特征在于,所述连接杆的两端分别设置有第一通孔和第二通孔,所述开关门上设置有第一连接柱,所述转动圆盘上设置有第二连接柱,所述第一通孔和所述第一连接柱以可转动的方式相连,所述第二通孔和所述第二连接柱以可转动的方式相连。

5.根据权利要求4所述的集尘棉箱节能时控开关,其特征在于,所述转动圆盘上还设置有移动凹槽,所述移动凹槽内设置有伸缩杆,所述伸缩杆和所述第二连接柱相连,以实现所述第二连接柱在所述转动圆盘上的移动。

6.根据权利要求1至5中任一项所述的集尘棉箱节能时控开关,其特征在于,所述集尘棉箱上还设置有容纳室,所述容纳室能够容纳所述开关门。

7.根据权利要求6所述的集尘棉箱节能时控开关,其特征在于,所述第一感应构件和所述第二感应构件中的一个为压力感应器,所述第一感应构件和所述第二感应构件中的另一个为抵挡板。

8.根据权利要求7所述的集尘棉箱节能时控开关,其特征在于,所述压力感应器的数量为多个,多个所述压力感应器在所述集尘棉箱上均匀分布。

9.根据权利要求8所述的集尘棉箱节能时控开关,其特征在于,所述容纳室和所述调节组件通过固定杆相连,所述固定杆和所述容纳室的连接方式为不可拆卸式连接,所述固定杆和所述调节组件的连接方式为不可拆卸式连接。

10.根据权利要求7所述的集尘棉箱节能时控开关,其特征在于,所述抵挡板的数量为两个。