欢迎来到知嘟嘟! 联系电话:13336804447 卖家免费入驻,海量在线求购! 卖家免费入驻,海量在线求购!
知嘟嘟
我要发布
联系电话:13336804447
知嘟嘟经纪人
收藏
专利号: 202110355600X
申请人: 南京信息工程大学
专利类型:发明专利
专利状态:已下证
专利领域: 测量;测试
更新日期:2024-02-23
缴费截止日期: 暂无
价格&联系人
年费信息
委托购买

摘要:

权利要求书:

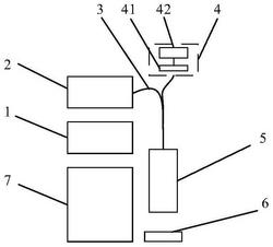
1.一种高速低成本光谱共焦位移测量装置,其特征在于,包括:控制器、照明模块、Y型光纤、探测模块、色散镜头、待测元件、标定模块;

所述照明模块电动控制多组LED,提供覆盖全部可见光波段的光源;

所述光源耦合入所述Y型光纤,出射光进入所述色散镜头被聚焦至待测元件表面,波长不同时聚焦光点位置不同,待测元件表面反射光返回Y型光纤;

所述探测模块测量待测元件表面上时反射光光强;

所述标定模块,用于标定色散镜头位置与探测模块模拟电压信号之间的关系,建立不同LED照明时光强向量与色散镜头位置关系的数据库;

所述控制器,测量不同LED照明待测元件时的反射光强向量,并在标定模块建立的数据库中查找与之最接近的光强向量,将其对应的色散镜头位置进行插值,计算获得待测元件表面位置信息。

2.根据权利要求1所述的一种高速低成本光谱共焦位移测量装置,其特征在于,所述控制器包括微处理器、光源驱动模块、模数转换模块、步进电机驱动器、光栅尺读数模块;

所述光源驱动模块使用多路独立高速固态继电器,驱动照明模块的LED照明;

所述模数转换模块将探测模块的模拟电压信号转化为数字信号;

所述步进电机驱动器用于驱动闭环步进电机,闭环步进电机驱动标定模块的电动平移台;

所述光栅尺读数模块读取标定模块的光栅尺TTL信号,将其转化为位移信息;

所述微处理器提供各控制信号及运算功能。

3.根据权利要求1所述的一种高速低成本光谱共焦位移测量装置,其特征在于,所述照明模块包括多个不同波长高速LED及毛玻璃,覆盖可见光波长,每个LED可独立控制开关,各LED均聚焦至所述毛玻璃同一位置。

4.根据权利要求3所述的一种高速低成本光谱共焦位移测量装置,其特征在于,所述Y型光纤两个分束端分别位于所述毛玻璃后方及所述探测模块中,合束端入射至色散镜头中。

5.根据权利要求1所述的一种高速低成本光谱共焦位移测量装置,其特征在于,所述色散镜头保留轴向色差,消除单色像差,具有与波长相关的焦距,当不同波长LED时聚焦光点位置连续变化,形成焦线。

6.根据权利要求1所述的一种高速低成本光谱共焦位移测量装置,其特征在于,所述探测模块包括光电探测器、电流放大器;

所述光电探测器为具有高响应速率的光电二极管、光电三极管或光电池;

所述电流放大器用于将光电探测器的光电流转化为模拟电压信号。

7.根据权利要求1所述的一种高速低成本光谱共焦位移测量装置,其特征在于,所述待测元件表面不限制表面粗糙度;

当表面经过抛光时,其倾角满足聚焦光经过反射后能够被色散镜头收集。

8.根据权利要求1所述的一种高速低成本光谱共焦位移测量装置,其特征在于,所述标定模块包括电动平移台及光栅尺;

所述电动平移台带动色散镜头移动;

所述光栅尺用于记录电动平移台的移动距离。

9.根据权利要求1‑8任一所述的一种高速低成本光谱共焦位移测量装置的高速低成本光谱共焦位移测量方法,其特征在于,包括:步骤一、色散镜头安装于电动平移台上,观察反射光强,确保待测元件表面设于色散镜头焦线范围内;

步骤二、电动平移台微距移动色散镜头,每次移动0.2μm,实时读取光栅尺数据获得准确的位移信息,每移动一次,照明模块轮流打开各LED;

步骤三、LED光源耦合入Y型光纤,出射光进入色散镜头被聚焦至待测元件表面;

步骤四、探测模块实时测量待测元件表面上时反射光光强模拟电压,控制器记录标定模块的光栅尺位置及各LED对应的探测模块探测的光强电压值;

步骤五、重复步骤二至步骤四,微处理器建立数据库,保存电动平移台位置及该位置处不同LED照明时的探测光强电压值;

步骤五、微处理器在数据库中查找最接近探测光强分布的对应位置进行插值,作为待测元件表面的位移。