欢迎来到知嘟嘟! 联系电话:13336804447 卖家免费入驻,海量在线求购! 卖家免费入驻,海量在线求购!
知嘟嘟
我要发布
联系电话:13336804447
知嘟嘟经纪人
收藏
专利号: 2021102229119
申请人: 徐州工程学院
专利类型:发明专利
专利状态:已下证
专利领域: 铁的冶金
更新日期:2025-03-25
缴费截止日期: 暂无
价格&联系人
年费信息
委托购买

摘要:

权利要求书:

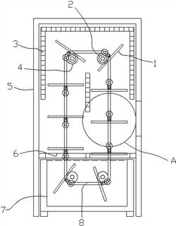
1.一种全尺寸回转支承淬火热处理装置,其特征在于:其结构包括机壳及冷却柜,所述冷却柜位于机壳下方,所述机壳内安装有移动循环结构,且移动循环结构上均匀分布着放置架,该移动循环结构将移动并翻转放置架,所述移动循环结构由二个以上的齿轮及啮合环绕在齿轮上的链条组成,所述齿轮通过电机制动旋转,所述放置架将活动安装在链条上,且所述放置架四周安装有加热单元,所述加热单元与放置架均位于机壳内,所述机壳底部设有开口,且所述放置架通过链条带动将穿过开口浸泡在冷却柜内;

所述放置架包括限位板、放置槽、限位孔、螺栓,所述限位板位于放置槽两侧,且限位板和放置槽的开口逐步递减呈等腰三角形状,所述限位孔设有若干个并均匀分布于两个限位板上,所述螺栓安装于限位孔上;

所述放置架上表面固定连接有两个支撑板,两个所述支撑板之间设有套筒,所述套筒为中空圆柱状,所述支撑板上铣有限位槽;

所述链条上对应放置架处焊接有长轴及短轴,所述长轴贯穿于套筒,使其放置架通过套筒在长轴上转动,而所述短轴插入限位槽口,使得放置架将随链条移动而转动;

所述机壳两侧设有长条状的槽口,该槽口用于供长轴和短轴的移动,所述电机采用伺服电机,所述电机转轴与齿轮相连接。

2.根据权利要求1所述的一种全尺寸回转支承淬火热处理装置,其特征在于:所述放置架侧面还设有长条状的侧槽,所述放置槽内安装有不同尺寸的回转支承外圈,且所述回转支承外圈通过螺栓固定在限位板和放置槽内。

3.根据权利要求1所述的一种全尺寸回转支承淬火热处理装置,其特征在于:所述冷却柜内填充有冷却液。