欢迎来到知嘟嘟! 联系电话:13336804447 卖家免费入驻,海量在线求购! 卖家免费入驻,海量在线求购!
知嘟嘟
我要发布
联系电话:13336804447
知嘟嘟经纪人
收藏
专利号: 2020210864415
申请人: 临沂晋安机械有限公司
专利类型:实用新型
专利状态:已下证
专利领域: 铁的冶金
更新日期:2024-07-04
缴费截止日期: 暂无
价格&联系人
年费信息
委托购买

摘要:

权利要求书:

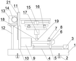
1.一种全尺寸回转支承热处理设备,包括底座(1)、第一驱动电机(3)、导轨(10)和支撑立板(12),其特征在于:所述底座(1)顶部一端通过安装槽安装有支撑立板(12),所述底座(1)顶部另一端通过安装座安装有第一驱动电机(3),所述底座(1)顶部通过螺丝安装有滑轨(4),所述滑轨(4)和支撑立板(12)之间焊接有导轨(10),所述支撑立板(12)顶部焊接有固定板且固定板顶部通过螺栓安装有步进电机(13),所述步进电机(13)的动力输出端连接有主动齿轮(14),所述导轨(10)内套设有导杆(11)且导杆(11)一端焊接有与主动齿轮(14)啮合的齿条(21),所述导杆(11)另一端通过螺栓安装有XY位移平台(15),所述XY位移平台(15)的位移端为位移板(16),所述位移板(16)底部通过螺钉安装有第二驱动电机(17),所述第二驱动电机(17)的动力输出端连接有套管(18),所述套管(18)一端通过螺纹槽安装有紧固螺钉(19),所述滑轨(4)内套设有丝块(5),所述第一驱动电机(3)的动力输出端连接有丝杆且丝杆贯穿丝块(5),所述丝块(5)顶部焊接有U型块(6),所述导轨(10)一端通过螺栓固定有电热炉(9)。

2.根据权利要求1所述的一种全尺寸回转支承热处理设备,其特征在于:所述U型块(6)顶部通过螺纹孔安装有调节螺栓(7),所述调节螺栓(7)端部位于U型块(6)内且外围套设有轴承,所述轴承外侧套设有夹板(8)。

3.根据权利要求1所述的一种全尺寸回转支承热处理设备,其特征在于:所述底座(1)底部拐角处均通过沉头螺钉和螺孔安装有橡胶脚垫(2)。

4.根据权利要求1所述的一种全尺寸回转支承热处理设备,其特征在于:所述套管(18)内通过紧固螺钉(19)固定有六角套头(20)。

5.根据权利要求1所述的一种全尺寸回转支承热处理设备,其特征在于:所述电热炉(9)的进料口位于U型块(6)的开口一侧。

我要求购
我不想找了,帮我找吧
您有专利需要变现?
我要出售
智能匹配需求,快速出售