欢迎来到知嘟嘟! 联系电话:13336804447 卖家免费入驻,海量在线求购! 卖家免费入驻,海量在线求购!
知嘟嘟
我要发布
联系电话:13336804447
知嘟嘟经纪人
收藏
专利号: 2021100940252
申请人: 长安大学
专利类型:发明专利
专利状态:已下证
专利领域: 测量;测试
更新日期:2024-01-05
缴费截止日期: 暂无
价格&联系人
年费信息
委托购买

摘要:

权利要求书:

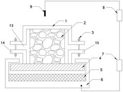
1.一种用于冲击试验防二次撞击的磁悬浮夹持支座,其特征在于,包括底座(6),底座(6)上固定有电磁体(5),电磁体(5)上设置有永磁体(4),永磁体(4)上固定有用于固定试件(2)的试件固定件(13),试件固定件(13)旁设置有用于监控试件(2)位置的位置传感器(9),位置传感器(9)连接传感器数据采集仪(8),传感器数据采集仪(8)连接上位机,电磁体(5)连接磁悬浮控制系统(7),磁悬浮控制系统(7)连接上位机;

上位机用于接收传感器数据采集仪(8)发送的数据,以及控制磁悬浮控制系统(7)的功率。

2.根据权利要求1所述的一种用于冲击试验防二次撞击的磁悬浮夹持支座,其特征在于,试件固定件(13)包括固定在永磁体(4)上的支撑座(14),支撑座(14)上开设有用于放置试件(2)的沟槽,底座上方设置有盖板(1),盖板(1)的内部型线与试件(2),支撑座(14)与盖板(1)间通过螺杆(3)固定,盖板(1)与支撑座(14)共同组成用于放置试件(2)的空腔。

3.根据权利要求2所述的一种用于冲击试验防二次撞击的磁悬浮夹持支座,其特征在于,空腔为球形或长方体形。

4.根据权利要求1所述的一种用于冲击试验防二次撞击的磁悬浮夹持支座,其特征在于,试件固定件(13)顶部设置有保护装置(10)。

5.根据权利要求4所述的一种用于冲击试验防二次撞击的磁悬浮夹持支座,其特征在于,保护装置(10)包括保护钢架(10‑a),保护钢架(10‑a)内设置有保护钢网(10‑b),保护钢网(10‑b)中开设有能够使锤头(11)穿过,并防止质量穿过的贯穿孔。

6.根据权利要求1所述的一种用于冲击试验防二次撞击的磁悬浮夹持支座,其特征在于,底座(6)为矩形壳体,电磁体(5)和永磁体(4)均置于壳体内。

7.根据权利要求6所述的一种用于冲击试验防二次撞击的磁悬浮夹持支座,其特征在于,壳体顶部设置有用于防止永磁体(4)高于壳体的限位挡板(15)。

8.根据权利要求1所述的一种用于冲击试验防二次撞击的磁悬浮夹持支座,其特征在于,底座(6)采用绝缘底座。

9.权利要求1所述的一种用于冲击试验防二次撞击的磁悬浮夹持支座的工作方法,其特征在于,包括以下步骤:

步骤一,将试件(2)固定在试件固定件(13)内;

步骤二,通过磁悬浮控制系统(7)逐渐加强电磁体(5)的磁力,根据同名磁极相互排斥,使得永磁体(4)升起,离开接触面,通过位置传感器(9)和数据采集仪(8)控制升起距离以及调节试件(2)位置;

步骤三,施加冲击载荷;

步骤四,锤头(11)撞击试件(2)的同时,数据传感器采集仪(8)测得数据,反馈到磁悬浮控制系统(7),瞬间使电磁体(5)的磁力降到最低,使试件(2)下落;

步骤五,完成一次冲击后,试验人员观察试件(2)的表面,记录不同冲击荷载情况下出现的不同试验现象,并对试验中的位置传感器(9)和传感器数据采集仪(8)的数据进行整理,得出冲击荷载对试件的各种反应情况,同时观察试件破坏现象;

步骤六,试验结束,恢复至试验前状态。

10.根据权利要求9所述的一种用于冲击试验防二次撞击的磁悬浮夹持支座的工作方法,其特征在于,步骤四中,试件(2)下落后,落锤(12)落在保护装置(10)中的保护钢网(10‑b)上。