欢迎来到知嘟嘟! 联系电话:13336804447 卖家免费入驻,海量在线求购! 卖家免费入驻,海量在线求购!
知嘟嘟
我要发布
联系电话:13336804447
知嘟嘟经纪人
收藏
专利号: 2016102133134
申请人: 永嘉县质量技术监督检测研究院
专利类型:发明专利
专利状态:已下证
专利领域: 测量;测试
更新日期:2023-11-30
缴费截止日期: 暂无
价格&联系人
年费信息
委托购买

摘要:

权利要求书:

1.一种秋千座椅防撞击试验仪,包括铝球(1)、控制器(2)、秋千座椅(3)和固定支架(4),所述铝球(1)和秋千座椅(3)均通过绳索吊装在固定支架(4)上,所述铝球(1)内设置有加速度传感器,表面涂有印泥层(5),所述控制器(2)设置在固定支架(4)的一侧,所述加速度传感器与控制器(2)通过导线连接,其特征在于:所述固定支架(4)上设置有对秋千座椅(3)的撞击角度进行调节的角度调节机构(t)和在秋千座椅(3)撞击角度调节好以后进行固定的角度固定机构(g),所述角度调节机构(t)和角度固定机构(g)在固定支架(4)上依次分布,所述角度调节机构包括编码器(t1)和条状板(t2),所述编码器(t1)安装在固定支架(4)与秋千座椅(3)的绳索相连接的位置上,并通过导线与控制器(2)连接,所述编码器(t1)上具有旋转轴,所述条状板(t2)套在编码器(t1)的旋转轴上,并与吊装秋千座椅(3)的绳索并排设置,所述角度固定机构(g)包括第五电机(g2)、第一定滑轮(g3)、牵引绳(g4)和固定在秋千座椅(3)上的铁块(301),所述第五电机(g2)和第一定滑轮(g3)均安装在固定支架(4)上,所述牵引绳(g4)的一端缠绕在第五电机(g2)的旋转轴上,另一端绕过第一定滑轮(g3)后固定连接有电磁组件(g1),所述电磁组件(g1)包括连接板(g101)和两个电磁铁(g102),所述两个电磁铁(g102)与控制器(2)耦接,所述连接板(g101)与牵引绳(g4)相固定连接,所述连接板(g101)呈长条状,两个电磁铁(g102)的一端分别固定在连接板(g101)靠近其两端的位置上,另一端在通电时与铁块(301)相互吸引,断电时相互分离。

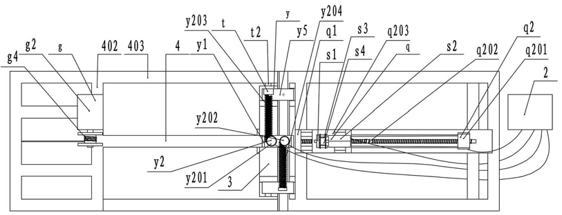
2.根据权利要求1所述的秋千座椅防撞击试验仪,其特征在于:所述固定支架(4)上设置有铝球调节机构(q),所述铝球调节机构(q)包括左右调节装置和升降装置,所述左右调节装置包括固定底座(q1)和传动装置(q2),所述固定底座(q1)固定安装在固定支架(4)上,所述传动装置(q2)设置在固定底座上(q1),所述传动装置(q2)包括第一电机(q201)、第一螺杆(q202)和移动底座(q203),所述第一电机(q201)固定安装在固定底座(q1)上,所述第一螺杆(q202)同轴固定在第一电机(q201)的转轴上,所述移动底座(q203)上开设有螺纹通孔,其背向第一电机(q201)的一端穿过移动底座(q203)上的螺纹通孔,并与螺纹通孔螺纹连接,所述升降装置设置在移动底座(q203)上,所述升降装置包括第二电机(s2)和滚轮(s3),所述第二电机(s2)固定安装在移动底座(q203)上,所述固定底座(q1)上开设有导向槽,所述移动底座(q203)上设置有滑移板(s1),所述滑移板(s1)嵌设在导向槽内,并在导向槽内滑移,所述滚轮(s3)同轴套接在第二电机(s2)的转轴上,连接铝球(1)的绳索穿过移动底座(q203)和固定底座(q1)后缠绕在滚轮(s3)上,所述第一电机(q201)和第二电机(s2)均通过导线与控制器(2)连接。

3.根据权利要求2所述的秋千座椅防撞击试验仪,其特征在于:所述固定支架(4)上设置有秋千座椅调节机构(y),所述秋千座椅调节机构(y)包括安装底座(y1)和蜗轮装置(y2),所述安装底座(y1)固定安装在固定支架(4)上,所述蜗轮装置(y2)包括第三电机(y201)、第四电机(y202)、第三螺杆(y203)、第四螺杆(y204)和两个悬挂底座(y5),所述第三电机(y201)和第四电机(y202)并排固定安装在安装底座(y1)上,所述第三螺杆(y203)设置在第三电机(y201)前方与第三电机(y201)传动连接,所述第四螺杆(y204)设置在第四电机(y202)的后方与第四电机(y202)传动连接,所述悬挂底座(y5)套在固定支架(4)上,悬挂底座(y5)与第三螺杆(q203)和第四螺杆(q204)固定安装,悬挂底座(y4)的下方开设有安装槽,安装槽的侧壁上开设有轴孔,所述编码器(t1)的轴穿过轴孔并与吊装秋千座椅(4)的绳索和条状板(t2)固定连接。

4.根据权利要求1或2或3所述的秋千座椅防撞击试验仪,其特征在于:所述固定支架(4)上设置有铝球撞击点固定机构(z),所述铝球撞击点固定机构(z)包括牵扯座(z1)、牵扯线(z2)、坠子(z4)和滑轮(z5),所述牵扯座(z1)固定安装在固定支架(4)上,所述牵扯线(z2)的一端设有螺丝帽(z3),另一端连接坠子(z4),所述牵扯座(z1)上设有滑轮(z5),所述牵扯线(z2)挂在滑轮(z5)上,所述铝球(1)上一体设置有螺栓(z6),所述螺丝帽(z3)与螺栓(z6)螺纹连接。

5.根据权利要求1或2或3所述的秋千座椅防撞击试验仪,其特征在于:所述固定支架(4)包括放置在地面上的若干支撑柱(401),所述支撑柱(401)的顶端设置有若干横向梁(402)和纵向梁(403),所述铝球(1)和秋千座椅(3)均通过绳索挂在横向梁(402)上,所述角度调节机构(t)和角度固定机构(g)均设置在横向梁上,所述支撑柱(401)、横向梁(402)和纵向梁(403)上均开设有第一通孔,横向梁(402)、纵向梁(403)和支撑柱(401)相互连接的位置上均设置有安装块(6),所述安装块(6)对应第一通孔的位置上开设有第二通孔,用螺钉穿过所述第一通孔和第二通孔,连接横向梁(402)、纵向梁(403)和支撑柱(401)。

6.根据权利要求4所述的秋千座椅防撞击试验仪,其特征在于:所述固定支架(4)包括放置在地面上的支撑柱(401),所述支撑柱(401)的顶端设置有若干横向梁(402)和纵向梁(403),所述铝球(1)和秋千座椅(3)均通过绳索挂在横向梁(402)上,所述角度调节机构(t)和角度固定机构(g)均设置在横向梁上,所述支撑柱(401)、横向梁(402)和纵向梁(403)上开设有第一通孔,横向梁(402)、纵向梁(403)和支撑柱(401)相互连接的位置上设置有安装块(6),所述安装块(6)对应第一通孔的位置上开设有第二通孔,用螺钉穿过所述第一通孔和第二通孔,连接横向梁(402)、纵向梁(403)和支撑柱(401)。

7.根据权利要求1或2或3所述的秋千座椅防撞击试验仪,其特征在于:所述条状板(t2)上开设有第三通孔(40c),所述第三通孔(40c)内设置有用于固定秋千座椅(3)的定位杆(7),所述定位杆(7)上开设有螺纹,当定位杆(7)固定秋千座椅(3)时,第三通孔(40c)的边沿卡住螺纹。

8.根据权利要求4所述的秋千座椅防撞击试验仪,其特征在于:所述条状板(t2)上开设有第三通孔(40c),所述第三通孔(40c)内设置有用于固定秋千座椅(3)的定位杆(7),所述定位杆(7)上开设有螺纹,当定位杆(7)固定秋千座椅(3)时,第三通孔(40c)的边沿卡住螺纹。

9.根据权利要求5所述的秋千座椅防撞击试验仪,其特征在于:所述条状板(t2)上开设有第三通孔(40c),所述第三通孔(40c)内设置有用于固定秋千座椅(3)的定位杆(7),所述定位杆(7)上开设有螺纹,当定位杆(7)固定秋千座椅(3)时,第三通孔(40c)的边沿卡住螺纹。

10.根据权利要求6所述的秋千座椅防撞击试验仪,其特征在于:所述条状板(t2)上开设有第三通孔(40c),所述第三通孔(40c)内设置有用于固定秋千座椅(3)的定位杆(7),所述定位杆(7)上开设有螺纹,当定位杆(7)固定秋千座椅(3)时,第三通孔(40c)的边沿卡住螺纹。

我要求购
我不想找了,帮我找吧
您有专利需要变现?
我要出售
智能匹配需求,快速出售