欢迎来到知嘟嘟! 联系电话:13336804447 卖家免费入驻,海量在线求购! 卖家免费入驻,海量在线求购!
知嘟嘟
我要发布
联系电话:13336804447
知嘟嘟经纪人
收藏
专利号: 2020230540387
申请人: 福州宏通建材有限公司
专利类型:实用新型
专利状态:已下证
专利领域: 一般的物理或化学的方法或装置
更新日期:2024-08-07
缴费截止日期: 暂无
价格&联系人
年费信息
委托购买

摘要:

权利要求书:

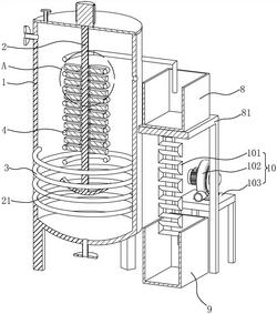
1.一种葡萄糖酸钠催化氧化罐,包括氧化罐本体(1),氧化罐本体(1)的中部设有竖直的搅拌轴(2),其特征在于:所述氧化罐本体(1)内安装有第一冷却管(3),所述第一冷却管(3)沿氧化罐本体(1)的内侧壁呈螺旋分布,所述氧化罐本体(1)上开设有用于供第一冷却管(3)的两端伸出的通孔,所述第一冷却管(3)的两端氧化罐本体(1)密封连接,所述第一冷却管(3)的两端分别为进水口和出水口,所述第一冷却管(3)的进水口连接有水泵。

2.根据权利要求1所述的一种葡萄糖酸钠催化氧化罐,其特征在于:所述氧化罐本体(1)内安装有第二冷却管(4),所述第二冷却管(4)沿搅拌轴(2)的长度方向呈螺旋分布,所述第二冷却管(4)的两端伸出氧化罐外,所述第二冷却管(4)的两端氧化罐本体(1)密封连接,所述第二冷却管(4)的进水口也连接有水泵,所述搅拌轴(2)上设置有用于固定第二冷却管(4)的固定组件(5)。

3.根据权利要求2所述的一种葡萄糖酸钠催化氧化罐,其特征在于:所述固定组件(5)包括固定杆(51)以及嵌设在固定杆(51)中部的轴承(52),所述固定杆(51)的中部贯穿开设有嵌槽(511),所述轴承(52)的外圈与嵌槽(511)内壁固定连接,所述轴承(52)的内圈与搅拌轴(2)固定连接,所述固定杆(51)与第二冷却管(4)固定连接。

4.根据权利要求3所述的一种葡萄糖酸钠催化氧化罐,其特征在于:所述固定组件(5)沿搅拌轴(2)的长度方向分布有多组。

5.根据权利要求2所述的一种葡萄糖酸钠催化氧化罐,其特征在于:所述第一冷却管(3)连接有集水箱(8),所述第一冷却管(3)的出水口和第二冷却管(4)的出水口均与集水箱(8)连通。

6.根据权利要求5所述的一种葡萄糖酸钠催化氧化罐,其特征在于:所述集水箱(8)连接有冷却箱(9),所述集水箱(8)和冷却箱(9)之间设置有用于降低水热量的降温机构(10),所述第一冷却管(3)的进水口与第二冷却管(4)的进水口均与冷却箱(9)连通。

7.根据权利要求6所述的一种葡萄糖酸钠催化氧化罐,其特征在于:所述降温机构(10)包括连通管(101),所述连通管(101)的一端与集水箱(8)的底部连接,所述连通管(101)的另一端与冷却箱(9)的顶部连通,所述连通管(101)呈弯折递进的。

8.根据权利要求7所述的一种葡萄糖酸钠催化氧化罐,其特征在于:所述降温机构(10)还包括鼓风机(102)以及用于支撑鼓风机(102)的支撑架(103),所述鼓风机(102)安装于支撑架(103)上,所述鼓风机(102)的吹风口朝向连通管(101)。