欢迎来到知嘟嘟! 联系电话:13336804447 卖家免费入驻,海量在线求购! 卖家免费入驻,海量在线求购!
知嘟嘟
我要发布
联系电话:13336804447
知嘟嘟经纪人
收藏
专利号: 2020227840583
申请人: 山东楚谷生物科技有限公司
专利类型:实用新型
专利状态:已下证
专利领域: 一般的物理或化学的方法或装置
更新日期:2024-04-12
缴费截止日期: 暂无
价格&联系人
年费信息
委托购买

摘要:

权利要求书:

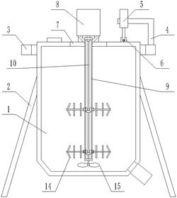
1.一种玉米淀粉生产加工中预处理罐,包括罐体(1),其特征在于,所述罐体(1)上设置有混合结构;

所述混合结构,包括:活动部以及搅拌部;

所述活动部设置在所述罐体(1)上,所述搅拌部设置在所述罐体(1)内。

2.根据权利要求1所述的一种玉米淀粉生产加工中预处理罐,其特征在于,所述活动部,包括:支架杆(2)、环形架(3)、支撑杆(4)、伸缩油缸(5)以及连接块(6);

所述环形架(3)设置在所述支架杆(2)上端,所述环形架(3)与所述罐体(1)之间销轴转动连接,所述支撑杆(4)设置在所述环形架(3)上端面,所述伸缩油缸(5)销轴转动连接在所述支撑杆(4)一端,所述连接块(6)设置在所述罐体(1)上表面且与所述伸缩油缸(5)输出端销轴转动连接。

3.根据权利要求2所述的一种玉米淀粉生产加工中预处理罐,其特征在于,所述搅拌部,包括:长孔(7)、驱动电机(8)、圆管(9)、传动杆(10)、固定套管(11)、旋转杆(12)、传动轮(13)以及搅拌杆(14);

所述长孔(7)开在所述罐体(1)上表面,所述驱动电机(8)固定在所述环形架(3)上表面,所述圆管(9)固定在所述驱动电机(8)上,所述传动杆(10)转动连接在所述圆管(9)内且上端与所述驱动电机(8)输出端相连接,所述固定套管(11)设置在所述圆管(9)侧表面内,所述旋转杆(12)转动套装在所述固定套管(11)内,所述传动轮(13)设置在所述传动杆(10)上与所述旋转杆(12)一端,所述搅拌杆(14)设置在所述旋转杆(12)上。

4.根据权利要求3所述的一种玉米淀粉生产加工中预处理罐,其特征在于,所述传动轮(13)为锥形齿轮且之间相啮合。

5.根据权利要求3所述的一种玉米淀粉生产加工中预处理罐,其特征在于,所述传动杆(10)下端设置有辅助搅拌叶(15)。