欢迎来到知嘟嘟! 联系电话:13336804447 卖家免费入驻,海量在线求购! 卖家免费入驻,海量在线求购!
知嘟嘟
我要发布
联系电话:13336804447
知嘟嘟经纪人
收藏
专利号: 2020226867790
申请人: 山东楚谷生物科技有限公司
专利类型:实用新型
专利状态:已下证
专利领域: 有机高分子化合物;其制备或化学加工;以其为基料的组合物
更新日期:2024-03-14
缴费截止日期: 暂无
价格&联系人
年费信息
委托购买

摘要:

权利要求书:

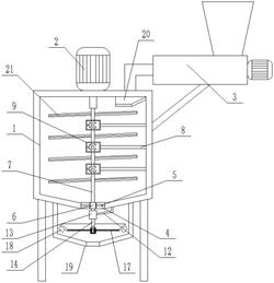
1.一种可对玉米淀粉清除杂质玉米淀粉加工设备,包括外壳(1),其特征在于,所述外壳(1)内设置有加工结构;

所述加工结构,包括:驱动电机(2)、输送绞龙(3)、底孔(4)、固定杆(5)、传动块(6)、粉碎部以及筛分部;

所述驱动电机(2)设置在所述外壳(1)上表面,所述输送绞龙(3)设置在所述外壳(1)上,所述底孔(4)开在所述外壳(1)内底面,所述固定杆(5)设置在所述底孔(4)内,所述传动块(6)转动连接在所述固定杆(5)之间,所述粉碎部设置在所述驱动电机(2)输出端与所述外壳(1)内,所述筛分部设置在所述外壳(1)底面。

2.根据权利要求1所述的一种可对玉米淀粉清除杂质玉米淀粉加工设备,其特征在于,所述粉碎部,包括:传动杆(7)、粉碎刀片(21)、横杆(8)、固定箱(9)、第一齿轮(10)以及第二齿轮(11);

所述传动杆(7)设置在所述驱动电机(2)输出端以及所述传动块(6)上,所述粉碎刀片(21)设置在所述传动杆(7)上,所述横杆(8)设置在所述外壳(1)内侧表面,所述固定箱(9)设置在所述横杆(8)一端且活动套装在所述传动杆(7)上,所述第一齿轮(10)设置在所述传动杆(7)一端,所述第二齿轮(11)转动连接在所述固定箱(9)内侧表面且与所述第一齿轮(10)相啮合。

3.根据权利要求1所述的一种可对玉米淀粉清除杂质玉米淀粉加工设备,其特征在于,所述筛分部,包括:固定架(12)、减速齿轮(13)、连接杆(14)、固定套管(15)、弹簧(16)、晒分板(17)以及振动电机(18);

所述固定架(12)设置在所述外壳(1)底面,所述减速齿轮(13)设置在所述固定架(12)一端且与所述传动块(6)相连接,所述连接杆(14)连接在所述减速齿轮(13)下端,所述固定套管(15)活动套装在所述连接杆(14)上,所述弹簧(16)连接在所述固定套管(15)与所述连接杆(14) 之间,所述晒分板(17)设置在所述固定套管上,所述振动电机(18)设置在所述晒分板(17)底面。

4.根据权利要求1所述的一种可对玉米淀粉清除杂质玉米淀粉加工设备,其特征在于,所述外壳(1)底面设置有底罩(19)。

5.根据权利要求1所述的一种可对玉米淀粉清除杂质玉米淀粉加工设备,其特征在于,所述外壳(1)内上表面设置有倾斜板(20)。