欢迎来到知嘟嘟! 联系电话:13336804447 卖家免费入驻,海量在线求购! 卖家免费入驻,海量在线求购!
知嘟嘟
我要发布
联系电话:13336804447
知嘟嘟经纪人
收藏
专利号: 2020227780309
申请人: 陕西诚德瑞乐教育科技有限公司
专利类型:实用新型
专利状态:已下证
专利领域: 一般的物理或化学的方法或装置
更新日期:2024-02-27
缴费截止日期: 暂无
价格&联系人
年费信息
委托购买

摘要:

权利要求书:

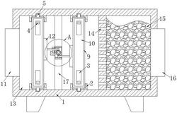
1.一种方便更换过滤网的空气净化设备,包括装置主体(1)和过滤室(13),其特征在于,所述过滤室(13)内部对称设有两组U形卡块(2),每个所述U形卡块(2)均开设有第一限位槽,每组两个所述U形卡块(2)内部均安装有方框(10),每个所述方框(10)均与U形卡块(2)内壁滑动连接,每个所述方框(10)的左侧壁对称开设有空腔,每个所述空腔的左侧面均开设有条形口,每个所述空腔的内部均固定安装有弹簧(7),每个所述弹簧(7)的另一端均固定安装有第一限位块(6),每个所述第一限位块(6)的另一端均固定安装有第一限位杆(5),每个所述第一限位杆(5)均贯穿对应的空腔且与对应的空腔活动套接,每个所述第一限位杆(5)与对应的第一限位槽相插接,每个所述第一限位块(6)的左侧面固定安装有连接杆(8),每个所述连接杆(8)贯穿空腔且与条形口滑动连接,每个所述连接杆(8)的另一端固定安装有第二限位块(4),所述过滤室(13)中间固定安装有支撑杆(17),所述支撑杆(17)内部开设有凹槽,所述凹槽的内部设有抵紧机构。

2.根据权利要求1所述的一种方便更换过滤网的空气净化设备,其特征在于,所述抵紧机构包括齿轮(18)、两个齿条(20)、转轴(23)和旋钮(19),所述凹槽内部对称设有两个第二限位杆(22),每个所述第二限位杆(22)的杆壁活动套接有滑块(21),每个所述滑块(21)相靠近的一端分别与相对应的齿条(20)固定连接,所述转轴(23)贯穿凹槽内部且通过轴承与凹槽的内壁转动连接,所述齿轮(18)固定套接在转轴(23)的杆壁上,两个所述齿条(20)与齿轮(18)相啮合,所述转轴(23)的另一端与旋钮(19)固定连接,所述支撑杆(17)左侧壁固定安装有第三限位块(24),所述第三限位块(24)的上表面开设有第二限位槽,上端的所述齿条(20)开设有通孔,所述通孔的内部安装有限位栓(25),所述限位栓(25)贯穿通孔且与第二限位槽相插接,每个所述齿条(20)的另一端固定安装有抵板(12),每个所述抵板(12)与对应的方框(10)相抵设置。

3.根据权利要求1所述的一种方便更换过滤网的空气净化设备,其特征在于,两个所述方框(10)的前侧均固定安装有密封圈(9),两个所述方框的内部安装有过滤网(26)。

4.根据权利要求1所述的一种方便更换过滤网的空气净化设备,其特征在于,所述过滤室(13)的右侧壁开设有多个出气口(14),所述过滤室(13)右侧壁和装置主体(1)右侧壁设有活性炭包(15)。

5.根据权利要求1所述的一种方便更换过滤网的空气净化设备,其特征在于,所述装置主体(1)的左侧开设有进风口(11),所述装置主体(1)的右侧开设有出风口(16)。

6.根据权利要求1所述的一种方便更换过滤网的空气净化设备,其特征在于,所述装置主体(1)前侧设置有密封开关门(27)。