欢迎来到知嘟嘟! 联系电话:13336804447 卖家免费入驻,海量在线求购! 卖家免费入驻,海量在线求购!
知嘟嘟
我要发布
联系电话:13336804447
知嘟嘟经纪人
收藏
专利号: 2021229922489
申请人: 福建紫慧信息技术有限公司
专利类型:实用新型
专利状态:已下证
专利领域: 供热;炉灶;通风
更新日期:2024-04-08
缴费截止日期: 暂无
价格&联系人
年费信息
委托购买

摘要:

权利要求书:

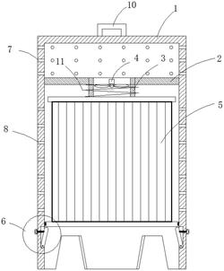
1.一种可方便更换滤网的空气净化器,其特征在于:包括净化器外壳(1),所述净化器外壳(1)的内腔设置有安装隔板(2),所述安装隔板(2)的中央设置有安装套筒(3),所述安装套筒(3)的内腔安装有轴流风机(4),所述安装隔板(2)的下方设置有圆筒滤芯(5),所述净化器外壳(1)侧壁位于圆筒滤芯(5)的下方设置有弹压扣锁机构(6)。2.根据权利要求1所述的一种可方便更换滤网的空气净化器,其特征在于:所述弹压扣锁机构(6)包括扣锁摆杆(61),所述扣锁摆杆(61)的下端通过销杆(62)转动嵌设安装与所述净化器外壳(1)的内壁,所述扣锁摆杆(61)的上端连接有拉绳(63),所述拉绳(63)的另一端贯穿至净化器外壳(1)外并连接有拉块(64),所述扣锁摆杆(61)与所述净化器外壳(1)的内壁之间抵接设置有第一压簧(65)。3.根据权利要求1所述的一种可方便更换滤网的空气净化器,其特征在于:所述净化器外壳(1)圆周外壁位于所述安装隔板(2)的上下两侧分别设置有阵列排布的出风孔(7)和进风孔(8)。4.根据权利要求1所述的一种可方便更换滤网的空气净化器,其特征在于:所述圆筒滤芯(5)的圆周为进风口、顶端中心为出风口,所述圆筒滤芯(5)的下端端板圆周嵌设安装有密封圈(9)。5.根据权利要求1所述的一种可方便更换滤网的空气净化器,其特征在于:所述净化器外壳(1)的顶端设置有提手(10)。6.根据权利要求1所述的一种可方便更换滤网的空气净化器,其特征在于:所述安装套筒(3)的外壁套设有第二压簧(11),所述第二压簧(11)上下两端与所述安装隔板(2)和圆筒滤芯(5)抵接。