欢迎来到知嘟嘟! 联系电话:13336804447 卖家免费入驻,海量在线求购! 卖家免费入驻,海量在线求购!
知嘟嘟
我要发布
联系电话:13336804447
知嘟嘟经纪人
收藏
专利号: 2020227522985
申请人: 苏州迈奥电子科技有限公司
专利类型:实用新型
专利状态:已下证
专利领域: 基本电气元件
更新日期:2024-01-05
缴费截止日期: 暂无
价格&联系人
年费信息
委托购买

摘要:

权利要求书:

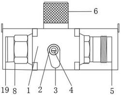
1.一种同轴网络避雷器,包括壳体(1),其特征在于:所述壳体(1)一侧连接有接口B(5),所述接口B(5)中部开设有螺纹(13),所述壳体(1)另一侧连接有螺母(8),所述螺母(8)的一侧连接有接口A(19),所述壳体(1)上端连接有橡胶圈(6),所述壳体(1)顶端连接有盖板(11),所述壳体(1)内部中部连接有中心导体(9),所述中心导体(9)内部连接有短路同芯轴(10),所述短路同芯轴(10)两侧连接有短路套(20),所述中心导体(9)一侧连接有插针(7),所述中心导体(9)另一侧连接有插口(14),所述中心导体(9)两侧连接有绝缘子(12),所述壳体(1)前端中部连接有接地口(3),所述接地口(3)上端连接有密封圈(2),所述密封圈(2)上端连接有螺钉(4),所述壳体(1)两侧连接有铰链(21),所述铰链(21)一侧连接有防水箱(18),所述防水箱(18)一侧连接有卡扣(16),所述防水箱(18)另一侧连接有卡板(15),所述防水箱(18)前端中部开设有圆槽(17)。

2.根据权利要求1所述的一种同轴网络避雷器,其特征在于:所述壳体(1)一侧固定连接有接口B(5),所述壳体(1)另一侧固定连接有螺母(8),所述螺母(8)的一侧固定连接有接口A(19),所述接口A(19)与接口B(5)相互对称。

3.根据权利要求1所述的一种同轴网络避雷器,其特征在于:所述壳体(1)上端固定连接有橡胶圈(6),所述壳体(1)顶端固定连接有盖板(11),所述壳体(1)内部中部固定连接有中心导体(9)。

4.根据权利要求1所述的一种同轴网络避雷器,其特征在于:所述中心导体(9)内部固定连接有短路同芯轴(10),所述短路同芯轴(10)两侧固定连接有短路套(20),所述中心导体(9)一侧固定连接有插针(7),所述中心导体(9)另一侧固定连接有插口(14)。

5.根据权利要求1所述的一种同轴网络避雷器,其特征在于:所述壳体(1)前端中部通过密封圈(2)与螺钉(4)和接地口(3)活动连接。

6.根据权利要求1所述的一种同轴网络避雷器,其特征在于:所述铰链(21)一共有八个,所述防水箱(18)的材质为亚克力。