欢迎来到知嘟嘟! 联系电话:13336804447 卖家免费入驻,海量在线求购! 卖家免费入驻,海量在线求购!
知嘟嘟
我要发布
联系电话:13336804447
知嘟嘟经纪人
收藏
专利号: 2020226351433
申请人: 陈金余
专利类型:实用新型
专利状态:已下证
专利领域: 水、废水、污水或污泥的处理
更新日期:2024-04-03
缴费截止日期: 暂无
价格&联系人
年费信息
委托购买

摘要:

权利要求书:

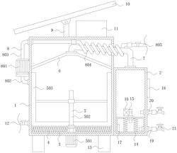
1.一种利用太阳能的海水淡化装置,包括蒸馏箱(1),其特征在于:所述蒸馏箱(1)的一侧外壁固定安装有集水箱(2),蒸馏箱(1)的内侧底部固定安装有导热壳(3),导热壳(3)的内部固定安装有加热丝(4),导热壳(3)的空心固定安装有固定板,蒸馏箱(1)的内部设置有清理机构(5),蒸馏箱(1)的内壁固定安装有顶板(6),顶板(6)的顶部固定安装有导向管(7),导向管(7)的一端延伸至顶板(6)的底部,蒸馏箱(1)的一侧开设有开口,导向管(7)的一端贯穿开口并延伸至集水箱(2)的内部,蒸馏箱(1)的另一侧设置有抽水冷却机构(8)。

2.根据权利要求1所述的一种利用太阳能的海水淡化装置,其特征在于:所述清理机构(5)包括电机(501)、转动轴(502)和清理刮板(503),蒸馏箱(1)的底部固定安装有电机(501),电机(501)的输出轴通过联轴器延伸至蒸馏箱(1)的内部并固定安装有转动轴(502),转动轴(502)的顶端延伸至固定板的上方,转动轴(502)的外壁固定安装有清理刮板(503)和固定杆,清理刮板(503)与固定杆固定安装,清理刮板(503)与蒸馏箱(1)的内壁和导热壳(3)的顶部相接触。

3.根据权利要求1所述的一种利用太阳能的海水淡化装置,其特征在于:所述蒸馏箱(1)的另一侧外壁固定安装有放置板,抽水冷却机构(8)包括水泵(801)、出水管(802)、吸水管(803)、盘管(804)和进水管(805),放置板的顶部固定安装有水泵(801),蒸馏箱(1)的另一侧外壁固定安装有出水管(802),出水管(802)的一端延伸至蒸馏箱(1)的内部,出水管(802)的另一端贯穿放置板与水泵(801)的输出端固定连接,水泵(801)的吸入端固定安装有吸水管(803),吸水管(803)通过连接器固定安装有盘管(804),盘管(804)的一端通过连接器固定安装有进水管(805),盘管(804)套设于导向管(7)的外壁上。

4.根据权利要求1所述的一种利用太阳能的海水淡化装置,其特征在于:所述蒸馏箱(1)的顶部固定安装有支撑杆(9)和蓄电箱(11),支撑杆(9)的顶部铰接安装有太阳能板(10),蒸馏箱(1)的另一侧固定安装有排水管(12),排水管(12)的一端延伸至蒸馏箱(1)的内部,集水箱(2)的底部固定安装有支撑柱(13)。

5.根据权利要求1所述的一种利用太阳能的海水淡化装置,其特征在于:所述集水箱(2)的内侧底部固定安装有加热箱(14),加热箱(14)的内部固定安装有加热丝(4),加热箱(14)的顶部固定安装有导水管(15),导水管(15)的一侧设置有电磁阀(16),加热箱(14)的内侧底部固定安装有感应器(17),集水箱(2)的一侧外壁固定安装有显示面板(18)。

6.根据权利要求5所述的一种利用太阳能的海水淡化装置,其特征在于:所述集水箱(2)的一侧固定安装有热水管(19)和冷水管(20),热水管(19)和冷水管(20)的一端均固定安装有连接器,连接器的一侧固定安装有出水龙头,热水管(19)的另一端贯穿集水箱(2)并延伸至加热箱(14)的内部,冷水管(20)的另一端延伸至集水箱(2)的内部,进水管(805)和排水管(12)上设置有单向阀。