欢迎来到知嘟嘟! 联系电话:13095918853 卖家免费入驻,海量在线求购! 卖家免费入驻,海量在线求购!
知嘟嘟
我要发布
联系电话:13095918853
知嘟嘟经纪人
收藏
专利号: 2016108076559
申请人: 西安建筑科技大学
专利类型:发明专利
专利状态:已下证
专利领域: 水、废水、污水或污泥的处理
更新日期:2024-01-05
缴费截止日期: 暂无
价格&联系人
年费信息
委托购买

摘要:

权利要求书:

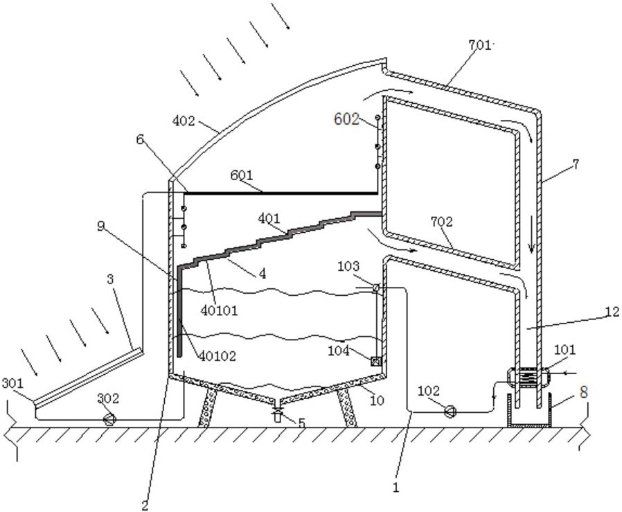
1.一种太阳能双级加热海水淡化装置,包括补水机构(1),补水机构(1)连接晒水池(2),其特征在于,所述晒水池(2)连接一级加热机构(3),晒水池(2)内部设置有二级加热机构(4)和喷洒机构(6),一级加热机构(3)连接喷洒机构(6);晒水池(2)还连接冷凝机构(7),冷凝机构(7)连接淡水收集装置(8);

海水通过补水机构(1)输入到晒水池(2)内部,海水输出到一级加热机构(3)内进行一级加热,经由喷洒机构(6)喷洒到二级加热机构(4)上进行二级加热,加热后的海水形成的水蒸气由冷凝机构(7)冷凝形成淡水,被淡水收集装置(8)收集。

2.如权利要求1所述的太阳能双级加热海水淡化装置,其特征在于,所述一级加热机构(3)包括太阳能集热器(301)和循环水泵(302),所述晒水池(2)内的海水经由循环水泵(302)流入太阳能集热器(301)内。

3.如权利要求1所述的太阳能双级加热海水淡化装置,其特征在于,所述二级加热机构(4)包括吸热板(401)和透光板(402),吸热板(401)设置在所述晒水池(2)内部,吸热板(401)包括阶梯板(40101)和竖直板(40102),阶梯板(40101)将所述晒水池(2)分成上下两部分,竖直板(40102)与所述晒水池(2)的一侧侧壁之间留有间隙,形成水流通道(9);透光板(402)设置在所述晒水池(2)的顶部。

4.如权利要求3所述的太阳能双级加热海水淡化装置,其特征在于,所述透光板(402)为玻璃板,透光板(402)为弧形结构。

5.如权利要求3所述的太阳能双级加热海水淡化装置,其特征在于,所述阶梯板(40101)的每一个阶梯面相对于水平面的倾斜角度为15°。

6.如权利要求3所述的太阳能双级加热海水淡化装置,其特征在于,所述喷洒机构(6)设置在所述吸热板(401)和透光板(402)之间,喷洒机构(6)包括圆环形喷淋管(601)和T形喷淋管(602),T形喷淋管(602)设置在圆环形喷淋管(601)的端部;T形喷淋管(602)所在平面平行于所述晒水池(2)的侧壁。

7.如权利要求3所述的太阳能双级加热海水淡化装置,其特征在于,所述冷凝机构(7)设置在所述晒水池(2)的外壁上,冷凝机构(7)包括第一冷凝管道(701)和第二冷凝管道(702),第一冷凝管道(701)与所述晒水池(2)内的吸热板(401)的上方空间连通,第二冷凝管道(702)与所述晒水池(2)内的吸热板(401)的下方空间连通。

8.如权利要求7所述的太阳能双级加热海水淡化装置,其特征在于,补水机构(1)包括全热交换器(101)、补水泵(102)和阀门(103),海水依次经过全热交换器(101)、补水泵(102)和阀门(103)流入所述晒水池(2)内;所述补水机构(1)还包括压力传感器(104);所述第一冷凝管道道(701)的末端和第二冷凝管道(702)的末端均穿过全热交换器(101)连接所述淡水收集装置(8)。

9.如权利要求1至8任一权利要求所述的太阳能双级加热海水淡化装置,其特征在于,所述晒水池(2)的底部设置有排水漏斗(10),排水漏斗(10)下方设置有排水阀门(5)。

10.如权利要求6所述的太阳能双级加热海水淡化装置,其特征在于,所述圆环形喷淋管(601)的一周设置有多个雾化喷嘴(11),所述T形喷淋管(602)的管壁上设置有多个雾化喷嘴(11)。