欢迎来到知嘟嘟! 联系电话:13336804447 卖家免费入驻,海量在线求购! 卖家免费入驻,海量在线求购!
知嘟嘟
我要发布
联系电话:13336804447
知嘟嘟经纪人
收藏
专利号: 2020226184407
申请人: 泉州市领鼎机械科技有限公司
专利类型:实用新型
专利状态:已下证
专利领域: 测量;测试
更新日期:2024-02-23
缴费截止日期: 暂无
价格&联系人
年费信息
委托购买

摘要:

权利要求书:

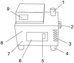
1.一种地下井水采样装置,其结构包括电源指示灯(1)、手推架(2)、散热口(3)、支撑脚(4)、手拉架(5)、盖板(6)、下放取水装置(7)、井水采样机(8)、控制器(9),所述电源指示灯(1)底部与井水采样机(8)右端顶部垂直连接,所述支撑脚(4)依次连接成长方形结构排列于井水采样机(8)底部,所述控制器(9)底部与井水采样机(8)顶部相连接,其特征在于:所述手拉架(5)左端与井水采样机(8)右端焊接,所述盖板(6)侧面与井水采样机(8)前端内部固定连接,所述盖板(6)右端前侧与手拉架(5)背部固定连接,所述下放取水装置(7)安装在井水采样机(8)内部,所述散热口(3)从上到下间隔相同依次排列于井水采样机(8)右端前侧;

所述下放取水装置(7)由伺服电机(701)、传动杆(702)、绕线架(703)、连接绳(704)、顶部固定架(705)、取水瓶(706)、连接杆(707)组成,所述伺服电机(701)右端与传动杆(702)左端垂直连接,所述传动杆(702)右端与绕线架(703)左端固定连接,所述绕线架(703)右端与顶部固定架(705)底端左侧固定连接,所述连接绳(704)顶端连接到绕线架(703)侧面,所述连接绳(704)底端连接到连接杆(707)顶侧,所述连接杆(707)右端与取水瓶(706)顶端左侧垂直连接。

2.根据权利要求1所述的一种地下井水采样装置,其特征在于:所述顶部固定架(705)由顶板(7051)、右定位板(7052)、定位杆(7053)组成。

3.根据权利要求2所述的一种地下井水采样装置,其特征在于:所述顶板(7051)右端底部与右定位板(7052)顶部垂直连接。

4.根据权利要求2所述的一种地下井水采样装置,其特征在于:所述右定位板(7052)左端与定位杆(7053)右端固定连接。

5.根据权利要求2所述的一种地下井水采样装置,其特征在于:所述定位杆(7053)左端与绕线架(703)右端垂直连接。