欢迎来到知嘟嘟! 联系电话:13336804447 卖家免费入驻,海量在线求购! 卖家免费入驻,海量在线求购!
知嘟嘟
我要发布
联系电话:13336804447
知嘟嘟经纪人
收藏
专利号: 2017111887258
申请人: 嘉兴众衡电气科技有限公司
专利类型:发明专利
专利状态:已下证
专利领域: 测量;测试
更新日期:2025-01-22
缴费截止日期: 暂无
价格&联系人
年费信息
委托购买

摘要:

权利要求书:

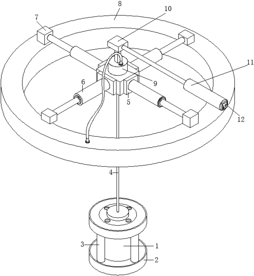
1.一种深井地下水样采集装置,包括采样水罐,其特征在于:所述采样水罐的底部圆周外壁对称套接有配重块,所述采样水罐的底部设置有进水罩,所述采样水罐的顶部设置有保护罩,所述进水罩与保护罩之间设置有进水管,且进水管位于采样水罐的圆周外侧,所述保护罩的顶部开设有排气口,所述采样水罐的内腔顶部设置有进水漏斗,所述进水漏斗的左右两侧壁上开设有导气口,所述采样水罐的底部设置有排水管;

所述采样水罐的顶部设置有吊索,所述吊索的顶部设置有自动收线器,所述自动收线器的四周侧壁均设置有电控气压杆,所述电控气压杆远离自动收线器的一端设置有连接板,所述连接板的底部设置有气囊,所述自动收线器的顶部设置有输气泵,且输气泵的排气端通过导管与气囊的进气口相连通,所述输气泵的顶部设置有连接架,所述连接架的前侧壁设置有提手杆,所述提手杆的前侧壁设置有控制器;

所述控制器分别电连接电控气压杆、自动收线器、输气泵。

2.根据权利要求1所述的一种深井地下水样采集装置,其特征在于:所述保护罩的外壁套接有橡胶保护套。

3.根据权利要求2所述的一种深井地下水样采集装置,其特征在于:所述橡胶保护套的厚度为2-3cm。

4.根据权利要求1所述的一种深井地下水样采集装置,其特征在于:所述提手杆为伸缩杆,且伸缩杆的伸缩行程大于电控气压杆的伸缩行程。

5.根据权利要求1所述的一种深井地下水样采集装置,其特征在于:所述排水管上设置有截止阀。

6.根据权利要求1所述的一种深井地下水样采集装置,其特征在于:所述控制器为可编程单片机控制器。

7.根据权利要求1所述的一种深井地下水样采集装置,其特征在于:所述排气口的内腔设置有滤水膜。