欢迎来到知嘟嘟! 联系电话:13336804447 卖家免费入驻,海量在线求购! 卖家免费入驻,海量在线求购!
知嘟嘟
我要发布
联系电话:13336804447
知嘟嘟经纪人
收藏
专利号: 2020225501541
申请人: 天津毅宏建筑装饰工程有限公司
专利类型:实用新型
专利状态:已下证
专利领域: 机床;其他类目中不包括的金属加工
更新日期:2024-06-13
缴费截止日期: 暂无
价格&联系人
年费信息
委托购买

摘要:

权利要求书:

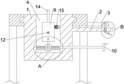
1.一种切割机的切割角度调节机构,其特征在于包括角度调节台、调节把手、锁定台和调节机构,所述角度调节台为圆柱结构,所述角度调节台可旋转式安装在切割机工作台中央的安装槽内,所述角度调节台内部开设有调节槽,所述调节槽内设置有调节机构,所述角度调节台右侧连接有调节把手,所述锁定台设置于切割机工作台的右侧;

所述调节机构包括调节丝杠、导杆、调节滑块、连接杆和安装架,所述调节丝杠和导杆横向设置于调节槽的底部,所述导杆位于调节丝杠的下方,所述调节丝杠右端伸出到角度调节台外侧并设置有摇动把手,所述调节丝杠上滑动安装有调节滑块,所述调节滑块上横向开设有螺纹孔,所述调节滑块通过螺纹孔安装在调节丝杠上,所述调节滑块底端横向开设有导向孔,所述调节滑块通过导向孔滑动安装在导杆上,所述调节滑块上开设有竖向滑槽,所述调节槽设置有安装架,所述安装架通过连接轴可旋转式安装在调节槽内壁,所述安装架底端通过连接杆与调节滑块连接,所述连接杆一端与安装架铰接,所述连接杆另一端通过条形导向块安装在调节滑块的竖向滑槽内,所述安装架内安装有切割锯片,所述安装架右侧固定有电机,所述电机主轴切割锯片与切割锯片的中轴处连接;

所述锁定台上表面沿周向开设有定位孔;

所述调节把手最外端设置有限位机构,所述限位机构由压板、连接板、定位销和复位弹簧组成,所述压板通过固定座固定在调节把手的底部,所述压板的中央通过转轴可旋转式安装在固定座上,所述调节把手内部竖向开设有通槽,所述通槽内滑动安装有定位销,所述定位销底部通过连接板与压板一端连接,所述连接板一端与压板铰接,所述连接板另一端与定位销底部铰接,所述定位销外套设有复位弹簧。

2.根据权利要求1所述的一种切割机的切割角度调节机构,其特征在于所述连接杆与条形导向块焊接连接。

3.根据权利要求1所述的一种切割机的切割角度调节机构,其特征在于所述锁定台为环形结构。

4.根据权利要求1所述的一种切割机的切割角度调节机构,其特征在于所述定位孔为N个,N≥2。