欢迎来到知嘟嘟! 联系电话:13336804447 卖家免费入驻,海量在线求购! 卖家免费入驻,海量在线求购!
知嘟嘟
我要发布
联系电话:13336804447
知嘟嘟经纪人
收藏
专利号: 2020232864728
申请人: 清远博亚门窗有限公司
专利类型:实用新型
专利状态:已下证
专利领域: 机床;其他类目中不包括的金属加工
更新日期:2024-02-23
缴费截止日期: 暂无
价格&联系人
年费信息
委托购买

摘要:

权利要求书:

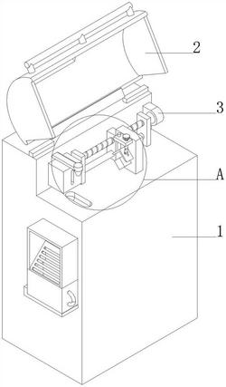
1.一种角码切割机,包括箱体(1),其特征在于:所述箱体(1)的内侧壁分别固定安装有伺服电机(3)和锯刀箱(11),所述伺服电机(3)的输出端固定连接有第一螺纹杆(4),所述第一螺纹杆(4)的表面通过螺纹连接有第一螺纹块(5),所述第一螺纹块(5)的表面固定连接有连接板(6),所述连接板(6)的表面分别固定连接有固定块(7)和固定夹块(10),所述固定块(7)的内壁通过螺纹连接有第二螺纹杆(8),所述第二螺纹杆(8)的一端通过轴承转动连接有活动夹块(9),所述箱体(1)的内底壁开设有出料通道(12),所述箱体(1)的一侧分别固定连接有导向板(13)和支撑板(16),所述导向板(13)的内侧壁固定连接有分流板(14),所述分流板(14)的表面开设有分流槽(15),所述支撑板(16)的顶部滑动连接有收集箱(17)。

2.根据权利要求1所述的一种角码切割机,其特征在于:所述箱体(1)的内侧壁固定连接有支撑块(21),所述第一螺纹杆(4)的表面通过轴承转动连接支撑块(21),所述支撑块(21)的表面固定连接有第一滑杆(22),所述第一螺纹块(5)的内壁滑动连接第一滑杆(22)。

3.根据权利要求1所述的一种角码切割机,其特征在于:所述箱体(1)的内侧壁固定连接有连接杆(19),所述连接杆(19)的一端固定连接有高压喷头(20),所述高压喷头(20)位于出料通道(12)的正上方。

4.根据权利要求1所述的一种角码切割机,其特征在于:所述固定块(7)的内壁滑动连接有第二滑杆(23),所述第二滑杆(23)的一端固定连接活动夹块(9)。

5.根据权利要求1所述的一种角码切割机,其特征在于:所述第二螺纹杆(8)的一端固定连接有转把(24),所述收集箱(17)的一侧固定连接有握把(18),所述握把(18)和转把(24)的表面均开设有防滑槽。

6.根据权利要求1所述的一种角码切割机,其特征在于:所述箱体(1)的顶部通过合页转动连接有箱门(2),所述箱门(2)的表面固定连接有把手。