欢迎来到知嘟嘟! 联系电话:13336804447 卖家免费入驻,海量在线求购! 卖家免费入驻,海量在线求购!
知嘟嘟
我要发布
联系电话:13336804447
知嘟嘟经纪人
收藏
专利号: 2020222775499
申请人: 扬州欣众顺塑料制品有限公司
专利类型:实用新型
专利状态:已下证
专利领域: 手携物品或旅行品
更新日期:2025-06-12
缴费截止日期: 暂无
价格&联系人
年费信息
委托购买

摘要:

权利要求书:

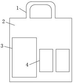
1.一种可降解的PBS超市购物袋,其特征在于:包括购物袋本体(2),所述购物袋本体(2)的顶部两端均连接有提手(1),且购物袋本体(2)的内壁两侧均安装有防水层(10),所述购物袋本体(2)的内壁一侧靠近防水层(10)上方的位置处固定有第一密封条(5),且购物袋本体(2)的内壁另一侧靠近防水层(10)的上方安装有第二密封条(8),所述第一密封条(5)靠近第二密封条(8)的一侧固定有卡条(6),且第二密封条(8)的侧壁开设有与卡条(6)相匹配的卡槽(9)。

2.根据权利要求1所述的一种可降解的PBS超市购物袋,其特征在于:所述防水层(10)的侧壁安装有加强层(7),所述加强层(7)远离防水层(10)的一侧连接有抗菌层(11),且加强层(7)包括第一抗拉层(71)、弹性层(72)和第二抗拉层(73),所述弹性层(72)位于第一抗拉层(71)和第二抗拉层(73)之间的位置处。

3.根据权利要求1所述的一种可降解的PBS超市购物袋,其特征在于:所述购物袋本体(2)的内部底端安装有隔垫(12),且隔垫(12)位于两个抗菌层(11)的之间。

4.根据权利要求2所述的一种可降解的PBS超市购物袋,其特征在于:所述第一抗拉层(71)与第二抗拉层(73)对称设置,且第一抗拉层(71)与第二抗拉层(73)远离弹性层(72)的一侧均连接有防火层。

5.根据权利要求1所述的一种可降解的PBS超市购物袋,其特征在于:所述购物袋本体(2)的侧壁开设有第一开口(3)和第二开口(4),且第一开口(3)位于第二开口(4)的一侧。

6.根据权利要求5所述的一种可降解的PBS超市购物袋,其特征在于:所述第二开口(4)的数量为两个,所述提手(1)呈弧形。

我要求购
我不想找了,帮我找吧
您有专利需要变现?
我要出售
智能匹配需求,快速出售