欢迎来到知嘟嘟! 联系电话:13336804447 卖家免费入驻,海量在线求购! 卖家免费入驻,海量在线求购!
知嘟嘟
我要发布
联系电话:13336804447
知嘟嘟经纪人
收藏
专利号: 2018111357400
申请人: 丽水学院
专利类型:发明专利
专利状态:已下证
专利领域: 无轨陆用车辆
更新日期:2024-01-05
缴费截止日期: 暂无
价格&联系人
年费信息
委托购买

摘要:

权利要求书:

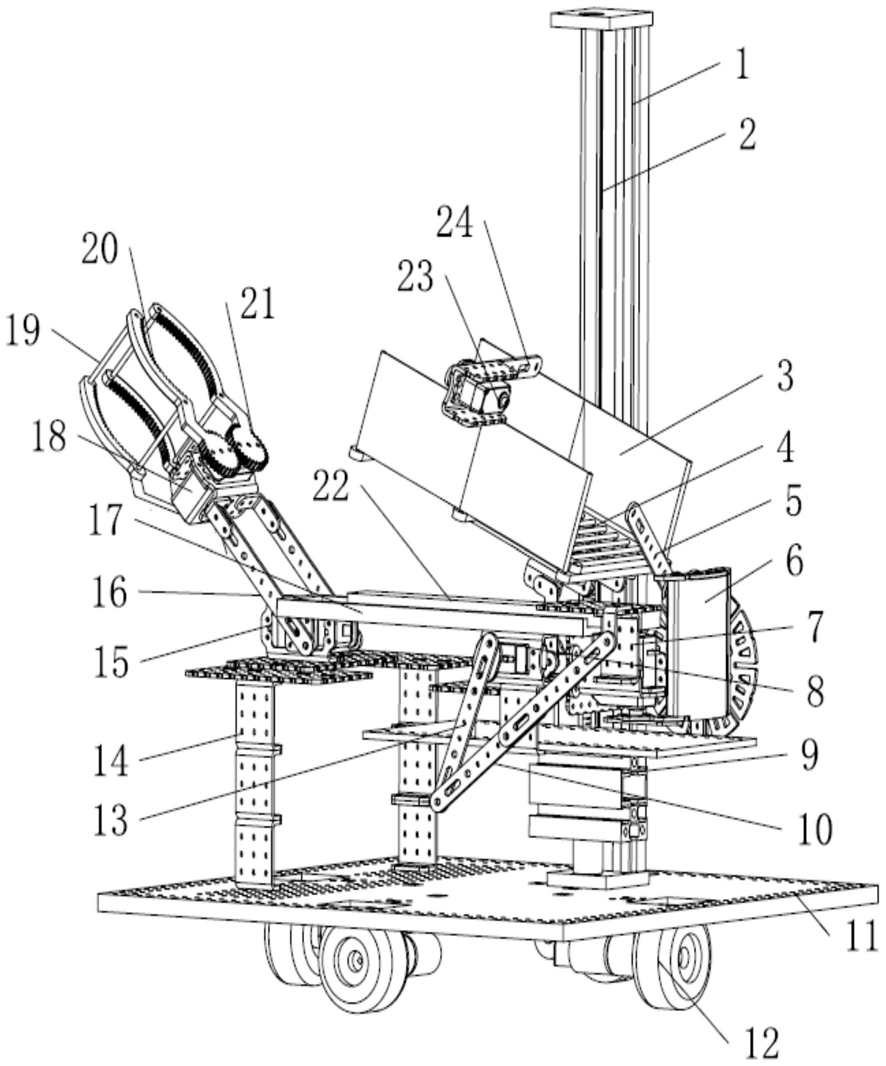
1.一种智能超市购物车,其特征在于,所述的智能超市购物车包括车架、行走机构、抓取机构、储货机构、出货机构、高度调整机构和识别控制系统,所述的行走机构、抓取机构、储货机构、出货机构、高度调整机构和识别控制系统均设于所述的车架上,所述的行走机构设于所述的车架下方,所述的抓取机构设于所述的储货机构的一侧,所述的出货机构和储货机构设于所述的高度调整机构上,且所述的出货机构设于所述的储货机构的下方,所述的行走机构、抓取机构、储货机构、出货机构、高度调整机构与所述的识别控制系统相连。

2.根据权利要求1所述的一种智能超市购物车,其特征在于,所述的车架包括车底板、抓取支架,高度调整支架,所述的抓取支架和高度调整支架设于所述的车底板上方,所述的抓取机构设于所述的抓取支架上,所述的高度调整机构设于所述的高度调整支架上。

3.根据权利要求2所述的一种智能超市购物车,其特征在于,所述的高度调整支架为垂直于所述的车底板的丝杆支架。

4.根据权利要求3所述的一种智能超市购物车,其特征在于,所述的丝杆支架上设有丝杆,丝杆上设有电机Ⅰ,所述的出货机构设于电机Ⅰ的上方。

5.根据权利要求4所述的一种智能超市购物车,其特征在于,所述的行走机构包括电机Ⅱ、电机支架以及由电机Ⅱ驱动的滚轮,所述电机支架与车底板相连,所述的电机Ⅱ设于所述的电机支架上。

6.根据权利要求5所述的一种智能超市购物车,其特征在于,所述的抓取机构包括设于抓取支架上的舵机Ⅰ、连接板、舵机Ⅱ、爪钳和摄像头,所述的舵机Ⅰ的输出轴与连接板的一端相连,所述的连接板的另一端固定于所述的舵机Ⅱ上,所述的舵机Ⅱ的输出轴与所述的爪钳相连,所述的摄像头设于所述的舵机Ⅱ远离连接板的表面上。

7.根据权利要求6所述的一种智能超市购物车,其特征在于,所述的连接板为两个,所述的爪钳为四个,所述的爪钳的一端设有齿轮,所述的爪钳的另一端设有弧形连杆,其中两个所述爪钳上设有齿轮的一端互为镜像设置于所述的舵机Ⅱ上表面,且设于舵机Ⅱ上表面上的两个爪钳上的齿轮相互啮合,另外两个所述的爪钳上设有齿轮的一端互为镜像设置于所述的舵机Ⅱ下表面,且设于舵机Ⅱ下表面上的两个爪钳上的齿轮相互啮合,设于所述的舵机Ⅱ上表面的爪钳与设于所述的舵机Ⅱ下表面的爪钳的位置相对应,且相对应的爪钳的外侧设有加固杆,所述的舵机Ⅱ的输出轴与其中两个位置相对应的齿轮的齿轮轴相连。

8.根据权利要求7所述的一种智能超市购物车,其特征在于,所述的储货机构包括与所述的车底板之间呈32度夹角的滑道、设于所述的滑道上的若干个存储仓Ⅰ,竖直设于所述的滑道左右两侧的挡板、设于挡板上方且与所述的存储仓Ⅰ位置相对应的舵机Ⅲ、设于舵机Ⅲ上的档条Ⅰ以及设于滑道下方且与所述的车底板平行的平板状的存储仓Ⅱ,所述的滑道前端的高度高于所述滑道末端的高度,所述的滑道前端与所述的抓取机构位置相对应,所述的滑道末端与所述的存储仓Ⅱ的位置相对应。

9.根据权利要求8所述的一种智能超市购物车,其特征在于,所述的出货机构包括置物板、出货挡板、后推板、平移支撑板、平移导轨、舵机Ⅳ、舵机Ⅴ、连杆Ⅰ和连杆Ⅱ,所述的存储仓Ⅱ设于所述的置物板上,并与所述的置物板共面,所述的平移支撑板为长方体,所述的平移支撑板的上表面设有延伸至其右侧面的凹槽,所述的凹槽的左右两侧设有滑槽,所述的平移导轨的左右两侧设于所述的滑槽内,所述的平移支撑板下表面与所述的舵机Ⅳ相连,所述的舵机Ⅳ的下表面与所述的置物板固定连接,所述的平移支撑板与所述的车底板平行设置,所述的舵机Ⅴ设于所述的平移导轨上远离抓取机构的一端,所述的舵机Ⅳ的侧面与所述的连杆Ⅰ相连,所述的连杆Ⅰ与连杆Ⅱ相连,所述的连杆Ⅱ与舵机Ⅴ的侧面相连,所述出货挡板设于所述的舵机Ⅴ的输出轴上,所述的出货挡板与所述的后推板平行设置,所述的出货挡板和后推板的下表面与所述的存储仓Ⅱ的上表面相抵。

10.根据权利要求1-9任一项所述的一种智能超市购物车,其特征在于,所述的识别控制系统包括灰度传感器、近红外传感器、触碰传感器和Arduino处理器;所述的灰度传感器和近红外传感器设于所述的车底板侧面上接近抓取机构的一端,所述的触碰传感器设于所述的的车底板侧面上接近出货机构的一端,所述的Arduino处理器与所述的灰度传感器、近红外传感器、触碰传感器、行走机构、抓取机构、储货机构、出货机构、高度调整机构相连。

我要求购
我不想找了,帮我找吧
您有专利需要变现?
我要出售
智能匹配需求,快速出售