欢迎来到知嘟嘟! 联系电话:13336804447 卖家免费入驻,海量在线求购! 卖家免费入驻,海量在线求购!
知嘟嘟
我要发布
联系电话:13336804447
知嘟嘟经纪人
收藏
专利号: 2020220752596
申请人: 温州颐创网络科技有限公司
专利类型:实用新型
专利状态:已下证
专利领域: 家具;家庭用的物品或设备;咖啡磨;香料磨;一般吸尘器
更新日期:2024-01-05
缴费截止日期: 暂无
价格&联系人
年费信息
委托购买

摘要:

权利要求书:

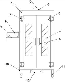
1.一种酒店用日用品智能柜,包括设备主体(1),其特征在于:所述设备主体(1)通过合页(2)固定安装有翻折板(3),所述翻折板(3)前端靠中间的位置开设有刚性玻璃窗(4),所述翻折板(3)前侧远离合页(2)的一端固定安装有把手(5),所述设备主体(1)左端靠中间的位置固定安装有连接台(6),所述连接台(6)的顶部固定安装有计时器(7),所述设备主体(1)顶部靠中间的位置固定安装有灌入口(8),所述灌入口(8)的内部活动安装有封闭塞(9),所述设备主体(1)的底部固定安装有支撑柱(10),所述支撑柱(10)的表面粘贴有橡胶摩擦层(11),所述设备主体(1)底部靠中间的位置固定安装有超声波驱鼠仪(12),所述设备主体(1)顶部的内腔处开设有蓄水层(13),所述设备主体(1)内部顶端靠中间的位置固定安装有喷雾器(14),所述设备主体(1)内部中间靠上端的位置固定安装有放置层(15),所述设备主体(1)内部中间靠下端的位置固定安装有放置柜(17),所述放置柜(17)的内部开设有放置槽(18),所述设备主体(1)两侧的内腔处均固定安装有加热板(16)。

2.根据权利要求1所述的一种酒店用日用品智能柜,其特征在于:所述合页(2)设置数量为四个,且四个合页(2)对称设置,所述翻折板(3)设置数量为两个,且两个翻折板(3)对称设置,所述翻折板(3)呈矩形。

3.根据权利要求1所述的一种酒店用日用品智能柜,其特征在于:所述支撑柱(10)设置数量为四个,且四个支撑柱(10)对称设置,四个支撑柱(10)固定安装在设备主体(1)底部的四周。

4.根据权利要求1所述的一种酒店用日用品智能柜,其特征在于:所述灌入口(8)和封闭塞(9)均为圆柱型,所述封闭塞(9)的直径大于灌入口(8)的直径。

5.根据权利要求1所述的一种酒店用日用品智能柜,其特征在于:所述放置柜(17)设置数量为两组,且每一组放置柜(17)的内部开设有六个放置槽(18),所述放置柜(17)呈矩形。

6.根据权利要求1所述的一种酒店用日用品智能柜,其特征在于:所述加热板(16)的型号为JDR铝合金加热板,所述喷雾器(14)的型号为ZDMP0.25。