欢迎来到知嘟嘟! 联系电话:13336804447 卖家免费入驻,海量在线求购! 卖家免费入驻,海量在线求购!
知嘟嘟
我要发布
联系电话:13336804447
知嘟嘟经纪人
收藏
专利号: 2020220032415
申请人: 舞钢市鸿康药业有限公司
专利类型:实用新型
专利状态:已下证
专利领域: 清洁
更新日期:2024-02-27
缴费截止日期: 暂无
价格&联系人
年费信息
委托购买

摘要:

权利要求书:

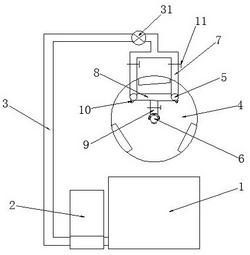
1.一种用于中药药材清洗设备中的冲洗装置,设置在用于中药材清洗的循环水洗药机上,包括水箱(1)、与水箱(1)连接的水泵(2)、设置在水泵(2)上的水流管路(3)和与水流管路(3)连接的设置在循环水洗药机的滚筒(4)内腔的冲洗机构,其特征在于:所述冲洗机构包括两个水平平行设置在同一高度的侧冲洗管(5)和位于两个侧冲洗管(5)下侧中心并与侧冲洗管(5)相互平行的中心冲洗管(6),其中,两个侧冲洗管(5)的一端均分别连接有一垂直设置的连接支管(7),两个连接支管(7)顶端通过管路与水流管路(3)的出口端连通,两个侧冲洗管(5)的另一端通过短管(8)相互连通,所述短管(8)的底部中心连接有一垂直的固定管(9),所述固定管(9)的底端出口与中心冲洗管(6)的一端连通,所述中心冲洗管(6)的另一端密封设置,且所述中心冲洗管(6)、两个侧冲洗管(5)的管体上均分别均匀布设有若干个冲洗喷头(10),位于两个侧冲洗管(5)上的冲洗喷头(10)均各自倾斜朝向滚筒(4)侧壁设置,位于中心冲洗管(6)上的冲洗喷头(10)垂直朝下设置。

2.如权利要求1所述的一种用于中药药材清洗设备中的冲洗装置,其特征在于:所述连接支管(7)和固定管(9)上均分别设置有水路阀门(11)。

3.如权利要求1所述的一种用于中药药材清洗设备中的冲洗装置,其特征在于:所述中心冲洗管(6)设置在所述滚筒(4)的内圆周中轴线上。

4.如权利要求1所述的一种用于中药药材清洗设备中的冲洗装置,其特征在于:所述中心冲洗管(6)的管体顶部悬空罩设有半圆弧形结构的挡罩(12),所述挡罩(12)的长度与中心冲洗管(6)的长度一致,所述中心冲洗管(6)的管体上均匀固定设置有多个用于支撑固定挡罩(12)的固定柱(61)。

5.如权利要求4所述的一种用于中药药材清洗设备中的冲洗装置,其特征在于:所述挡罩(12)具有一中空的内腔(13),所述挡罩(12)顶壁均匀开设有若干个溢水孔(14),挡罩(12)的底部设置有多个与内腔(13)连通的溢水管(15),所述溢水管(15)的底端与所述中心冲洗管(6)的内腔连通。

6.如权利要求1所述的一种用于中药药材清洗设备中的冲洗装置,其特征在于:所述水流管路(3)上设置有压力表(31)。