欢迎来到知嘟嘟! 联系电话:13336804447 卖家免费入驻,海量在线求购! 卖家免费入驻,海量在线求购!
知嘟嘟
我要发布
联系电话:13336804447
知嘟嘟经纪人
收藏
专利号: 2021222206740
申请人: 辽宁佰福药业有限公司
专利类型:实用新型
专利状态:已下证
专利领域: 清洁
更新日期:2024-01-05
缴费截止日期: 暂无
价格&联系人
年费信息
委托购买

摘要:

权利要求书:

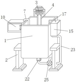
1.一种中药加工用药材清洗设备,包括壳体(1),其特征在于:所述壳体(1)的两侧均固接有底座(2),所述壳体(1)的背面通过支架固接有电机(3),所述电机(3)的输出端外壁固接有两个限位条(4),所述电机(3)的输出端外壁间隙配合有竖筒(5),两个所述限位条(4)的外壁与竖筒(5)的内壁两侧凹槽间隙配合,所述竖筒(5)的底部固接有方壳(19),所述壳体(1)的一侧连通有外壳(10),所述外壳(10)的内壁背面通过支架固接有马达(12),所述马达(12)的输出端固接有蜗杆(11),所述蜗杆(11)的顶部啮合相连有蜗轮(9),所述蜗轮(9)的背面通过销轴与外壳(10)的内壁背面转动相连,所述蜗轮(9)的一侧啮合相连有齿条(8),所述齿条(8)的外壁上下两侧分别与外壳(10)的上下两侧通孔间隙配合,所述齿条(8)的顶部固接有曲杆(7),所述竖筒(5)的外壁通过轴承转动相连有圆板(6),所述曲杆(7)的一侧与圆板(6)的一侧固定连接。

2.根据权利要求1所述的一种中药加工用药材清洗设备,其特征在于:所述壳体(1)的一侧固接有料箱(15),所述料箱(15)的内壁顶部通过支架固接有泵体(16),所述泵体(16)的顶部连通有弯管(17),所述弯管(17)的外壁贯穿料箱(15)的外壁顶部。

3.根据权利要求1所述的一种中药加工用药材清洗设备,其特征在于:所述壳体(1)的内壁背面固接有开关(13),所述曲杆(7)的顶部固接有竖杆(14)。

4.根据权利要求1所述的一种中药加工用药材清洗设备,其特征在于:所述方壳(19)的一侧固接有圆筒(21),所述方壳(19)的内壁间隙配合有底板(20),所述底板(20)的一侧与圆筒(21)的内侧通过螺栓固定连接,所述底板(20)的底部安装有网板,所述竖筒(5)的外壁固接有毛刷(18)。

5.根据权利要求1所述的一种中药加工用药材清洗设备,其特征在于:所述壳体(1)的底部连通有过滤箱(22),所述过滤箱(22)的底部连通有曲管(23),所述曲管(23)的外壁上方螺纹相连有滤芯(24),所述曲管(23)的内侧连通有循环泵(25),所述曲管(23)的上方与壳体(1)的一侧相连通。