欢迎来到知嘟嘟! 联系电话:13336804447 卖家免费入驻,海量在线求购! 卖家免费入驻,海量在线求购!
知嘟嘟
我要发布
联系电话:13336804447
知嘟嘟经纪人
收藏
专利号: 2020219123540
申请人: 赵丽琴
专利类型:实用新型
专利状态:已下证
专利领域: 一般车辆
更新日期:2024-02-28
缴费截止日期: 暂无
价格&联系人
年费信息
委托购买

摘要:

权利要求书:

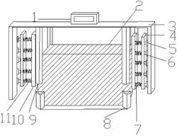
1.一种货车油箱防撞外箱,包括拉手(1)、油箱(2)、第一箱体(3)、第一防护层(4)、橡胶凸起(5)、第一连接柱(6)、第二连接柱(7)、三角槽(8)、三角柱(9)、第二防护层(10)、弹簧层(11)、导管(12)、第一活塞(13)、缓冲垫(14)、前板(15)、活动钮(16)、滑块(17)、连接杆(18),固定块(19)、活塞柱(20)、后板(21)、第二活塞(22)、活塞块(23)、受力层(24)、第二箱体(25) ,其特征在于:所述拉手(1)设置于第一箱体(3)的顶部,所述油箱(2)设置于第一箱体(3)的内部中间,所述第一防护层(4)设置于第一箱体(3)的内壁,第一防护层(4)固定连接第一连接柱(6),第一防护层(4)通过第一连接柱(6)表面的橡胶凸起(5)连接在第一箱体(3)内壁,所述第二连接柱(7)固定连接在第二防护层(10),第二防护层(10)表面设置有第二连接柱(7),第二连接柱(7)外壁设置有弹簧层(11),弹簧层(11)由多个弹簧组成,所述三角柱(9)垂直连接在第一箱体(3),所述第一箱体(3)底部设置有与三角柱(9)相适配的三角槽(8),所述导管(12)设置在后板(21)的内部,所述第一活塞(13)与缓冲垫(14)固定连接,所述前板(15)与固定块(19)固定连接,固定块(19)设置在前板(15)的内部,所述固定块(19)的表面活动连接有滑块(17),滑块(17)连接在活动钮(16),所述活动钮(16)延伸端连接有连接杆(18),所述活塞柱(20)连接在第一活塞(13)延伸端,所述后板(21)内部后端设置有第二活塞(22),所述活塞块(23)设置在第二活塞(22)水平方向,所述活塞块(23)有侧设置有受力层(24),受力层(24)由高韧性弹簧组成,所述第二箱体(25)与第一箱体(3)固定连接,第二箱体(25)设置于油箱(2)呈长方形状的外表面。2.根据权利要求1所述的一种货车油箱防撞外箱,其特征在于:所述第一箱体(3)内壁设置有第一防护层(4)和第二防护层(10),第一防护层(4)和第二防护层(10)之间通过弹簧层(11)固定连接,第一防护层(4)外表面设置有橡胶凸起(5)。3.根据权利要求1所述的一种货车油箱防撞外箱,其特征在于:所述第一箱体(3)内部两侧分别设置有4个三角柱(9),与之相适配的设置有三角槽(8),并为油箱(2)的4个L型角形成固定保护作用。4.根据权利要求1所述的一种货车油箱防撞外箱,其特征在于:所述货车油箱(2)呈长方形状的外表面使最容易被撞击的面积,第二箱体(25)与第一箱体(3)固定连接,第二箱体(25)设置有前板(15)。5.根据权利要求1所述的一种货车油箱防撞外箱,其特征在于:所述前板(15)内壁表面设置有固定块(19),固定块(19)上设置有滑块(17)。

我要求购
我不想找了,帮我找吧
您有专利需要变现?
我要出售
智能匹配需求,快速出售