欢迎来到知嘟嘟! 联系电话:13336804447 卖家免费入驻,海量在线求购! 卖家免费入驻,海量在线求购!
知嘟嘟
我要发布
联系电话:13336804447
知嘟嘟经纪人
收藏
专利号: 2021102217380
申请人: 嘉兴倍创网络科技有限公司
专利类型:发明专利
专利状态:已下证
专利领域: 一般车辆
更新日期:2025-12-19
缴费截止日期: 暂无
价格&联系人
年费信息
委托购买

摘要:

权利要求书:

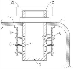
1.一种货车油箱防盗装置,包括箱体(1),其特征在于,所述箱体(1)上设有注油口(2),所述注油口(2)上螺纹连接有油盖(21),所述箱体(1)内设有与注油口(2)相连通的防盗管(3),所述防盗管(3)的底部密封,所述防盗管(3)的侧壁上周向开设有多个油孔(31),每个所述油孔(31)内均设有密封环(32);

所述箱体(1)内通过固定板(4)安装有多个弧形板(5),所述弧形板(5)上开设有多个溢流口(52),且多个弧形板(5)周向分布于防盗管(3)外侧,每个所述弧形板(5)上均贯穿滑动安装有多根导向杆(14),每根所述导向杆(14)靠近防盗管(3)的一端均固定设置有弹性塞(7),每个所述弹性塞(7)均活动插设在对应的油孔(31)内,每个所述弹性塞(7)与相应的弧形板(5)之间均固定连接有压缩弹簧(8),且压缩弹簧(8)绕设于对应导向杆(14)的外周。

2.根据权利要求1所述的一种货车油箱防盗装置,其特征在于,每个所述油孔(31)的纵截面均为等腰梯形,每个所述油孔(31)朝向防盗管(3)内侧的开口的直径均小于其朝向防盗管(3)外侧的开口的直径。

3.根据权利要求1所述的一种货车油箱防盗装置,其特征在于,每个所述弹性塞(7)的纵截面均为三角形,每个所述弹性塞(7)的最大直径均大于对应油孔(31)的最大直径。

4.根据权利要求1所述的一种货车油箱防盗装置,其特征在于,所述箱体(1)的内侧壁上固定安装有供电器(9)和检测组件(10),所述箱体(1)外侧壁上固定安装有微型摄像头(11)和报警器(12),所述微型摄像头(11)和报警器(12)均与检测组件(10)电性连接。

5.根据权利要求4所述的一种货车油箱防盗装置,其特征在于,所述防盗管(3)的底壁内设有中空层(13),所述中空层(13)内充有导电溶液,所述供电器(9)分别通过导电溶液、保护电阻与检测组件(10)电性连接。