欢迎来到知嘟嘟! 联系电话:13336804447 卖家免费入驻,海量在线求购! 卖家免费入驻,海量在线求购!
知嘟嘟
我要发布
联系电话:13336804447
知嘟嘟经纪人
收藏
专利号: 2019213004831
申请人: 李春
专利类型:实用新型
专利状态:已下证
专利领域: 刷类制品
更新日期:2024-02-23
缴费截止日期: 暂无
价格&联系人
年费信息
委托购买

摘要:

权利要求书:

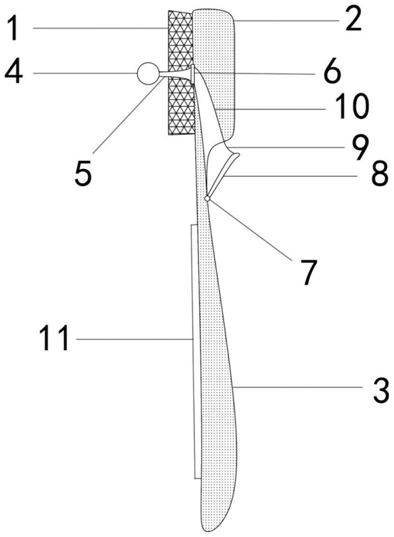
1.一种酒店一次性牙刷,包括毛刷(1)、刷头(2)、手柄(3)、搬动球(4)、搬动杆(5)、膏体密封口(6)、转轴(7)、推压板(8)、软性密闭空气囊(9)、膏体流通管(10)、防滑握垫(11),其特征在于:所述刷头(2)与手柄(3)为一整体,所述推压板(8)通过转轴(7)与手柄(3)连接,并且能够围绕转轴(7)转动。

2.根据权利要求1所述的一种酒店一次性牙刷,其特征在于:所述刷头(2)表面粘接有毛刷(1),且刷头(2)与手柄(3)相连,手柄(3)表面粘接有防滑握垫(11)。

3.根据权利要求1所述的一种酒店一次性牙刷,其特征在于:所述搬动球(4)与搬动杆(5)为一整体,插入毛刷(1)中,且搬动杆(5)末端与刷头(2)上的膏体密封口(6)相连。

4.根据权利要求1所述的一种酒店一次性牙刷,其特征在于:所述搬动球(4)与搬动杆(5)位于毛刷(1)中间位置,且搬动杆(5)的长度比毛刷(1)长1/4。

5.根据权利要求1所述的一种酒店一次性牙刷,其特征在于:所述软性密闭空气囊(9)分别与膏体流通管(10)、推压板(8)密封连接,且软性密闭空气囊(9)与膏体流通管(10)内体积相等。