欢迎来到知嘟嘟! 联系电话:13336804447 卖家免费入驻,海量在线求购! 卖家免费入驻,海量在线求购!
知嘟嘟
我要发布
联系电话:13336804447
知嘟嘟经纪人
收藏
专利号: 2020208509078
申请人: 杜文达
专利类型:实用新型
专利状态:已下证
专利领域: 生物化学;啤酒;烈性酒;果汁酒;醋;微生物学;酶学;突变或遗传工程
更新日期:2024-04-08
缴费截止日期: 暂无
价格&联系人
年费信息
委托购买

摘要:

权利要求书:

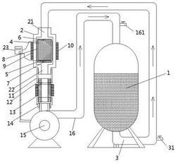
1.一种白酒快速老化器,包括:白酒罐、矩形催化器壳体、管道一、一号碳板、二号碳板、碳棒电极一、碳棒电极二、隔布、永磁体一、永磁体二、连通管一、碳管、环形永磁体、连通管二、循环泵、管道二,所述白酒罐底部连接一根管道一,其特征在于:所述管道一另一端连接至矩形催化器壳体的进口,所述管道一下侧连接一根放酒管,所述矩形催化器壳体内部安装有规格相同且紧密贴合的一号碳板以及二号碳板,所述一号碳板与二号碳板之间设有一块隔布,所述碳棒电极一安装在一号碳板顶部,所述碳棒电极二安装在二号碳板底部一侧,所述永磁体一、永磁体二对称安装在矩形催化器壳体左右两端面上,且永磁体一、永磁体二垂直于两块碳板设置,所述矩形催化器壳体的出口连接一根连通管一,所述矩形催化器壳体通过连通管一与碳管上口连接,所述碳管外壁上安装一个环形永磁体,所述碳管下口连接一根连通管二,所述连通管二不与碳管连接的另一端与循环泵进口连接,所述循环泵通过管道二与白酒罐顶部连接,且置于白酒罐顶部上方的管道二上安装一根进酒管。

2.根据权利要求1中所述的一种白酒快速老化器,其特征在于:所述放酒管与进酒管上均安装有控制阀。

3.根据权利要求1中所述的一种白酒快速老化器,其特征在于:所述矩形催化器壳体外侧设有一个仪表台,所述仪表台上设有电压表、电流表以及控制开关,所述碳棒电极一分别通过导线连接至电流表和电压表的正极接线端,所述碳棒电极二分别通过导线连接至电流表和电压表的负极接线端,所述循环泵与控制开关电连接。

4.根据权利要求1中所述的一种白酒快速老化器,其特征在于:所述永磁体一和永磁体二为内侧磁性相吸安装。