欢迎来到知嘟嘟! 联系电话:13336804447 卖家免费入驻,海量在线求购! 卖家免费入驻,海量在线求购!
知嘟嘟
我要发布
联系电话:13336804447
知嘟嘟经纪人
收藏
专利号: 2020206739164
申请人: 金华职业技术学院
专利类型:实用新型
专利状态:已下证
专利领域: 家具;家庭用的物品或设备;咖啡磨;香料磨;一般吸尘器
更新日期:2023-08-24
缴费截止日期: 暂无
价格&联系人
年费信息
委托购买

摘要:

权利要求书:

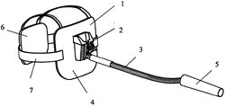
1.一种幼儿学步辅助装置,由罩衣(1)、连接支座(2)、牵引杆(3)和握柄(5)组成,所述的罩衣(1)有前胸支护(6)和后背支护(4),连接带(7)从两肩部和腋下旁边位置缝接,其特征是:所述的牵引杆(3)由可调节挠度和弯曲程度的金属管制成,牵引杆(3)后端与金属线(14)连接,所述金属线(14)的另一端与握柄(5)内部的卷线装置连接,牵引杆(3)前端与球头连接件(8)相连,所述握柄(5)上设有按钮开关,控制卷线装置的工作;

球头连接件(8)可安装在连接支座(2)的圆台型滑槽(9)内,所述的连接支座(2)背部与罩衣(1)上的后背支护(4)相连接,连接支座(2)上设有圆台型滑槽(9),圆台型滑槽(9)上部直径大下部直径小,并安装有卡扣(10),卡扣(10)上设有卡扣顶角(11)、斜端面(12)和解锁扳手(13),卡扣斜端面(12)与连接支座(2)契合,通过卡扣(10)自身结构和材料物理弹性把卡扣顶角(11)顶置在圆台型滑槽(9)的中间位置,牵引杆(3)上的球头连接件(8)只可由圆台型滑槽(9)上端进入,球头连接件(8)挤压通过卡扣顶角(11)后自动上锁,需要移出球头连接件(8)时,用手指从下往上按解锁扳手(13),即可顺利取出球头连接件(8)以及牵引杆(3)。