欢迎来到知嘟嘟! 联系电话:13336804447 卖家免费入驻,海量在线求购! 卖家免费入驻,海量在线求购!
知嘟嘟
我要发布
联系电话:13336804447
知嘟嘟经纪人
收藏
专利号: 202020597435X
申请人: 华庭锅炉(泰州)有限公司
专利类型:实用新型
专利状态:已下证
专利领域: 一般的物理或化学的方法或装置
更新日期:2024-08-02
缴费截止日期: 暂无
价格&联系人
年费信息
委托购买

摘要:

权利要求书:

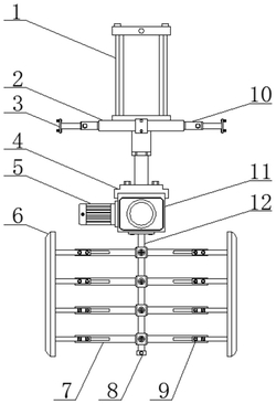
1.一种新型的锅炉烟气除尘装置,包括液压伸缩缸(1)和安装底座(2),其特征在于:所述液压伸缩缸(1)安装固定在安装底座(2)的上端中间位置上,所述安装底座(2)的两端中间设置有固定套筒(10),所述固定套筒(10)的内部中间设置有外侧固定杆(3),所述液压伸缩缸(1)的下端设置有凹型固定块(4),所述凹型固定块(4)的下端内侧设置有减速机(11),所述减速机(11)的左端设置有驱动电机(5),所述减速机(11)的下端设置有转动轴杆(12),所述转动轴杆(12)的外侧套接设置有调节固定杆(7),所述调节固定杆(7)的下方位于转动轴杆(12)上设置有阻挡套块(8),所述调节固定杆(7)的外侧设置有烟尘刮刀(6),所述调节固定杆(7)和烟尘刮刀(6)通过固定螺钉(9)固定连接,所述驱动电机(5)与外部电源电性连接。

2.根据权利要求1所述的一种新型的锅炉烟气除尘装置,其特征在于:所述调节固定杆(7)包括支撑长块(71)、调节通孔(72)、轴杆套块(73)和安装螺丝(74),所述轴杆套块(73)的前端中间设置有安装螺丝(74),所述轴杆套块(73)的两端外侧设置有支撑长块(71),所述支撑长块(71)的外端中间设置有调节通孔(72),所述轴杆套块(73)连接在转动轴杆(12)上。

3.根据权利要求1所述的一种新型的锅炉烟气除尘装置,其特征在于:所述烟尘刮刀(6)包括刀片固定板(61)、连接长块(62)、螺钉通孔(63)和金属刀片(64),所述连接长块(62)的下端中间设置有螺钉通孔(63),所述连接长块(62)的上端设置有刀片固定板(61),所述刀片固定板(61)的上端设置有金属刀片(64),所述连接长块(62)连接在调节固定杆(7)上。

4.根据权利要求1所述的一种新型的锅炉烟气除尘装置,其特征在于:所述固定套筒(10)包括上侧套块(101)、调节螺栓(102)、中空圆柱(103)和底部焊接块(104),所述中空圆柱(103)的上端设置有上侧套块(101),所述中空圆柱(103)的上端外侧设置有调节螺栓(102),所述中空圆柱(103)的下端设置有底部焊接块(104),所述底部焊接块(104)连接在安装底座(2)上。

5.根据权利要求1所述的一种新型的锅炉烟气除尘装置,其特征在于:所述调节固定杆(7)共设置有四个,且所述调节固定杆(7)均平行等距套接固定在转动轴杆(12)上。

6.根据权利要求1所述的一种新型的锅炉烟气除尘装置,其特征在于:所述凹型固定块(4)和减速机(11)通过螺钉固定连接,且所述凹型固定块(4)和减速机(11)的外侧处于同一水平面上。

7.根据权利要求1所述的一种新型的锅炉烟气除尘装置,其特征在于:所述外侧固定杆(3)的下端外侧形状大小与固定套筒(10)的内侧凹槽形状大小相等,且所述外侧固定杆(3)套接固定在固定套筒(10)的内部中间位置上,所述固定套筒(10)的内部呈中空状态。

8.根据权利要求1所述的一种新型的锅炉烟气除尘装置,其特征在于:所述减速机(11)和转动轴杆(12)通过法兰固定连接,且所述减速机(11)和转动轴杆(12)的连接处设置有密封胶圈。