欢迎来到知嘟嘟! 联系电话:13336804447 卖家免费入驻,海量在线求购! 卖家免费入驻,海量在线求购!
知嘟嘟
我要发布
联系电话:13336804447
知嘟嘟经纪人
收藏
专利号: 2019109725983
申请人: 范宝莲
专利类型:发明专利
专利状态:已下证
专利领域: 燃烧设备;燃烧方法
更新日期:2024-02-23
缴费截止日期: 暂无
价格&联系人
年费信息
委托购买

摘要:

权利要求书:

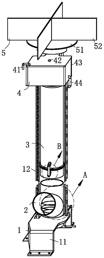
1.一种工业锅炉烟气除尘装置,其特征在于:包括支撑结构(1)、进气管(2)、余热利用结构(3)、泄压结构(4)和除尘结构(5);用于对工业锅炉进行排烟的所述余热利用结构(3)固定于所述支撑结构(1),用于支撑所述余热利用结构(3)的所述支撑结构(1)与所述余热利用结构(3)之间可拆卸连接;所述余热利用结构(3)上设有用于排烟的所述进气管(2);所述余热利用结构(3)的顶端设有用于对水流进行泄压的所述泄压结构(4),且所述泄压结构(4)与所述余热利用结构(3)之间可拆卸连接;所述余热利用结构(3)的内部设有用于清理烟尘的所述除尘结构(5),所述除尘结构(5)与所述余热利用结构(3)之间转动连接,且所述除尘结构(5)连接于所述泄压结构(4);

所述余热利用结构(3)包括多个烟管(31)、存储室(32)、收纳盒(33)、法兰(34)和循环管(35),最底端的一个所述烟管(31)的侧壁设有用于连接工业锅炉的所述进气管(2),所述进气管(2)的中轴线与所述烟管(31)的中轴线之间的夹角为60-75°,连接于所述进气管(2)的一个所述烟管(31)的底端螺纹连接有用于收纳烟尘的所述收纳盒(33),所述烟管(31)的内部设有用于存储水源的所述存储室(32),相邻的两个所述烟管(31)之间的相对端通过所述法兰(34)固定,且相邻的两个所述烟管(31)的相对端设有所述循环管(35),相邻的两个所述烟管(31)的内部的所述存储室(32)通过所述循环管(35)导通;

所述支撑结构(1)包括底座(11)、支撑架(12)、滑块(13)、液压缸(14)和驱动圈(15),连接于所述收纳盒(33)的一个所述烟管(31)的底端设有截面为“几”字形的所述底座(11),所述底座(11)上设有用于驱动的所述液压缸(14),所述液压缸(14)的底端设有环形结构的用于传动的所述驱动圈(15),所述驱动圈(15)上对称设有两个矩形结构的所述滑块(13),所述驱动圈(15)与带有所述进气管(2)的一个所述烟管(31)之间滑动连接,所述滑块(13)与所述底座(11)之间滑动连接,所述滑块(13)上设有所述支撑架(12),所述支撑架(12)背离所述滑块(13)的一端连接于背离所述底座(11)的最端部的一个所述烟管(31);

所述除尘结构(5)包括传动套(51)、驱动板(52)、除尘圈(53)和排气孔(54),截面为T形结构的所述传动套(51)与最顶端的一个所述烟管(31)之间转动连接,所述传动套(51)上圆周阵列设有多个与所述烟管(31)导通的所述排气孔(54),所述传动套(51)的底端为圆台形结构,所述传动套(51)的底端设有螺旋形的所述除尘圈(53),所述除尘圈(53)与所述烟管(31)之间滑动连接,所述除尘圈(53)的截面的端部为三角形,所述传动套(51)背离所述除尘圈(53)的一端垂直设有两个所述驱动板(52),两个所述驱动板(52)之间相互垂直;

所述泄压结构(4)包括进液管(41)、平衡阀门(42)、收纳箱(43)、排液管(44)、导流板(45)、转轴(46)、传动轴(47)和齿轮(48),所述收纳箱(43)固定于最端部的一个所述烟管(31),所述支撑架(12)背离所述底座(11)的一端固定于所述收纳箱(43),所述收纳箱(43)的顶端设有所述平衡阀门(42),所述转轴(46)于所述收纳箱(43)之间转动连接,所述转轴(46)上圆周阵列设有多个S形的所述导流板(45),所述传动轴(47)与所述收纳箱(43)之间转动连接,所述传动轴(47)与所述转轴(46)垂直,所述传动轴(47)与所述转轴(46)的端部啮合,所述传动轴(47)的直径大于所述转轴(46)的直径,所述传动轴(47)背离所述转轴(46)的一端设有所述齿轮(48),所述齿轮(48)与所述传动套(51)之间啮合,所述进液管(41)贯穿于所述收纳箱(43)且延伸至所述导流板(45),所述排液管(44)的一端连接于所述收纳箱(43),所述排液管(44)的另外一端与顶端的所述烟管(31)的内部的所述存储室(32)导通。