欢迎来到知嘟嘟! 联系电话:13336804447 卖家免费入驻,海量在线求购! 卖家免费入驻,海量在线求购!
知嘟嘟
我要发布
联系电话:13336804447
知嘟嘟经纪人
收藏
专利号: 2020205670621
申请人: 向廷军
专利类型:实用新型
专利状态:已下证
专利领域: 织物等的处理;洗涤;其他类不包括的柔性材料
更新日期:2024-02-28
缴费截止日期: 暂无
价格&联系人
年费信息
委托购买

摘要:

权利要求书:

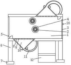
1.一种印染除尘器,包括箱体(1)和支撑板(13),其特征在于:所述箱体(1)的内部插设有两个轴心柱(2),两个所述轴心柱(2)的两端均延伸至箱体(1)的外部,两个所述轴心柱(2)的外表面通过转轴焊接有滚筒(4),所述箱体(1)的底部四个拐角处均焊接有支撑腿(6),四个所述支撑腿(6)的底部均焊接有圆板(7),所述箱体(1)的顶部和底部均嵌设有吸尘罩(10),两个所述吸尘罩(10)的吸气口处通过螺纹均固定连接有吸尘板(9),两个所述吸尘板(9)的正表面均开设有若干吸尘孔(8),两个所述吸尘罩(10)的顶部均通过法兰盘套接有吸尘管(11),两个所述吸尘管(11)远离吸尘罩(10)的一端均通过法兰盘连接有吸尘器(12),所述支撑板(13)的两侧均焊接有支撑柱(14),两个所述支撑柱(14)的内部均插接有支撑轴(18),所述支撑轴(18)的外表面通过转轴焊接有卷布圆筒(19)。

2.根据权利要求1所述的一种印染除尘器,其特征在于:所述箱体(1)的进布口与出布口处均通过合页连接有物料门(3),所述箱体(1)的两侧均通过螺丝固定有门别(20),且门别(20)分布于物料门(3)的两侧。

3.根据权利要求1所述的一种印染除尘器,其特征在于:所述箱体(1)的内壁通过螺栓连接有两个防磨块(5),且两个防磨块(5)分别位于进布口底部与出布口顶部。

4.根据权利要求1所述的一种印染除尘器,其特征在于:所述卷布圆筒(19)的两侧外表面均焊接有隔板(17)。

5.根据权利要求1所述的一种印染除尘器,其特征在于:两个所述支撑柱(14)的底部均焊接有加固横板(15),两个所述加固横板(15)的两端均套设有橡皮套(16)。

6.根据权利要求1所述的一种印染除尘器,其特征在于:两个所述吸尘罩(10)交错分布,且两个吸尘罩10分别嵌设在箱体(1)的上壁和下壁内。