欢迎来到知嘟嘟! 联系电话:13336804447 卖家免费入驻,海量在线求购! 卖家免费入驻,海量在线求购!
知嘟嘟
我要发布
联系电话:13336804447
知嘟嘟经纪人
收藏
专利号: 2020205034876
申请人: 浙江优尼家装饰科技有限公司
专利类型:实用新型
专利状态:已下证
专利领域: 工程元件或部件;为产生和保持机器或设备的有效运行的一般措施;一般绝热
更新日期:2023-08-24
缴费截止日期: 暂无
价格&联系人
年费信息
委托购买

摘要:

权利要求书:

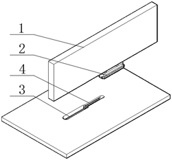
1.一种板材连接结构及板材隐形连接件,其特征在于:包括两组板材(1)和连接件(2),其中一组所述板材(1)的上表面设置有长条连接孔,所述长条连接孔包括滑动孔(3)和与所述滑动孔(3)连通的卡接孔(4),所述卡接孔(4)的内侧壁上均设置有卡接槽(5),所述滑动孔(3)的孔径大于所述卡接孔(4)的孔径,另一组所述板材(1)的一侧边上设置有圆形连接孔,所述连接件(2)包括主体(201),所述主体(201)的上表面固定安装有固定柱(202),所述固定柱(202)上设置有连接棱(203),所述主体(201)相对应的两侧与所述卡接槽(5)相匹配的固定连接有卡接块(204),所述主体(201)底部设置有一排摩擦棱(205),所述固定柱(202)固定安装在所述圆形连接孔内;所述滑动孔(3)的孔径大于主体(201)加两组卡接块(204)的长度,所述卡接孔(4)的孔径略小于所述主体(201)的长度。

2.根据权利要求1所述的一种板材连接结构及板材隐形连接件,其特征在于:两组所述板材(1)通过所述连接件(2)连接后,两组所述板材(1)之间紧密接触,且连接有连接件(2)的板材(1)完全遮挡所述长条连接孔。

3.根据权利要求2所述的一种板材连接结构及板材隐形连接件,其特征在于:所述连接棱(203)上对称设置有两组贯穿所述连接棱(203)的通槽(206),所述固定柱(202)采用1-3组,所述圆形连接孔也相对应的采用1-3组。

4.根据权利要求1所述的一种板材连接结构及板材隐形连接件,其特征在于:所述滑动孔(3)的顶部与卡接孔(4)的底部均采用弧面结构,且所述滑动孔(3)与所述卡接孔(4)连接部位采用圆角结构。

5.根据权利要求1所述的一种板材连接结构及板材隐形连接件,其特征在于:所述主体(201)的两端均采用弧面结构,所述卡接块(204)的两端采用倒圆角结构。

我要求购
我不想找了,帮我找吧
您有专利需要变现?
我要出售
智能匹配需求,快速出售