欢迎来到知嘟嘟! 联系电话:13336804447 卖家免费入驻,海量在线求购! 卖家免费入驻,海量在线求购!
知嘟嘟
我要发布
联系电话:13336804447
知嘟嘟经纪人
收藏
专利号: 2023216031023
申请人: 大连北方华冶钢结构工程有限公司
专利类型:实用新型
专利状态:已下证
专利领域: 建筑物
更新日期:2025-01-13
缴费截止日期: 暂无
价格&联系人
年费信息
委托购买

摘要:

权利要求书:

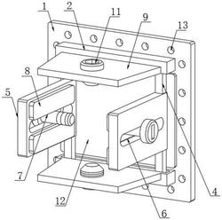
1.一种钢结构连接部件,包括安装板(1)和夹板(5),其特征在于:所述安装板(1)的两端均固定连接有支撑杆(2),所述支撑杆(2)的一侧开设有滑槽(3),所述滑槽(3)的两端均活动卡接有滑杆(4),所述滑杆(4)的末端固定连接有夹板(5),所述夹板(5)上开设有通槽(6),所述通槽(6)的内侧插接有第一螺纹杆(7),所述夹板(5)的一侧固定连接有海绵垫(8);

所述支撑杆(2)的前端固定连接有压板(9),且压板(9)与支撑杆(2)之间构成一体化结构,所述压板(9)上开设有圆孔(10),所述圆孔(10)的内侧插接有第二螺纹杆(11),所述安装板(1)的前侧固定连接有垫板(12)。

2.根据权利要求1所述的一种钢结构连接部件,其特征在于:所述安装板(1)的外侧开设有均匀分布的定位孔(13),所述安装板(1)的后侧固定连接有贴胶(14)。

3.根据权利要求1所述的一种钢结构连接部件,其特征在于:所述夹板(5)通过滑杆(4)与滑槽(3)之间构成滑动结构,所述第一螺纹杆(7)的末端外侧为螺纹结构。

4.根据权利要求1所述的一种钢结构连接部件,其特征在于:所述海绵垫(8)的一侧与夹板(5)的一侧相贴合,所述海绵垫(8)关于通槽(6)的水平中心线对称。

5.根据权利要求1所述的一种钢结构连接部件,其特征在于:所述压板(9)的关于安装板(1)的水平中心线对称,所述第二螺纹杆(11)通过圆孔(10)贯穿压板(9)。

6.根据权利要求1所述的一种钢结构连接部件,其特征在于:所述第二螺纹杆(11)的末端外侧为螺纹结构,所述压板(9)的内侧面与支撑杆(2)的内侧面位于同一平面。