欢迎来到知嘟嘟! 联系电话:13336804447 卖家免费入驻,海量在线求购! 卖家免费入驻,海量在线求购!
知嘟嘟
我要发布
联系电话:13336804447
知嘟嘟经纪人
收藏
专利号: 2020204801796
申请人: 深圳市清华环科检测技术有限公司
专利类型:实用新型
专利状态:已下证
专利领域: 测量;测试
更新日期:2024-07-17
缴费截止日期: 暂无
价格&联系人
年费信息
委托购买

摘要:

权利要求书:

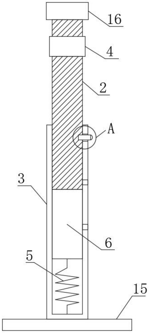
1.一种便于调节的噪声测量仪固定机构,包括噪声测量仪本体(1)、支撑杆(2)、支撑管(3)和滑套(4),其特征在于:所述支撑管(3)的内底部焊接固定有弹簧(5),所述支撑管(3)内滑动安装有滑动杆(6),所述弹簧(5)的上端与滑动杆(6)的一端焊接固定,所述支撑杆(2)通过导向机构(7)滑动安装在支撑管(3)内,所述支撑管(3)的侧壁上等距开设有若干通孔(8),所述支撑杆(2)的外壁上螺纹安装有弹簧柱塞(9),所述弹簧柱塞(9)的柱塞头滑动插接在通孔(8)内,所述支撑杆(2)的外壁开设有滑槽(10),所述滑套(4)的内壁上设置有与滑槽(10)相匹配的滑块(11),所述滑套(4)的一侧焊接固定有固定板(12),所述噪声测量仪本体(1)通过螺栓安装在固定板(12)上。

2.根据权利要求1所述的一种便于调节的噪声测量仪固定机构,其特征在于:所述导向机构(7)包括导向槽(13)和导向块(14),所述导向块(14)滑动安装在导向槽(13)内,所述导向槽(13)开设在支撑管(3)的内壁上,所述导向块(14)设置在支撑杆(2)的外壁上。

3.根据权利要求2所述的一种便于调节的噪声测量仪固定机构,其特征在于:所述导向块(14)的侧壁与导向槽(13)的内壁均设置为光滑面,且导向块(14)设置为凸字形滑块,所述导向槽(13)设置为凸字形滑槽。

4.根据权利要求1所述的一种便于调节的噪声测量仪固定机构,其特征在于:所述滑块(11)的侧壁与滑槽(10)的内壁间隙滑动配合,且间隙不大于0.01mm。

5.根据权利要求1所述的一种便于调节的噪声测量仪固定机构,其特征在于:所述支撑管(3)的下端焊接固定有底座(15),所述底座上开设有螺纹孔。

6.根据权利要求1所述的一种便于调节的噪声测量仪固定机构,其特征在于:所述支撑杆(2)的上端侧部设置有外螺纹,所述支撑杆(2)通过外螺纹安装有螺纹盖(16),所述螺纹盖(16)的外径比滑套(4)的外径大1cm。