欢迎来到知嘟嘟! 联系电话:13336804447 卖家免费入驻,海量在线求购! 卖家免费入驻,海量在线求购!
知嘟嘟
我要发布
联系电话:13336804447
知嘟嘟经纪人
收藏
专利号: 201821511335X
申请人: 陕西助智信息技术有限公司
专利类型:实用新型
专利状态:已下证
专利领域: 测量;测试
更新日期:2025-03-24
缴费截止日期: 暂无
价格&联系人
年费信息
委托购买

摘要:

权利要求书:

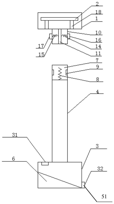
1.一种噪声检测仪,包括外壳和设置在外壳内的噪声检测本体,所述外壳侧壁上设有若干个透音孔,所述噪声检测本体的拾音结构与若干个透音孔相对,其特征在于:还包括支架,所述支架包括底座和支撑杆,所述底座为中空结构,所述底座的上端开设有用于倒入砂石的进料口,所述底座的侧壁下端开设有出料口,所述底座底面上设有斜台,所述斜台斜边的一端与所述底座侧壁连接,所述斜台斜边的另一端与出料口的底端连接;

所述支撑杆的一端固定在所述底座中部,所述支撑杆的另一端开设有凹槽,所述凹槽中部垂直固定有第一弹簧,所述凹槽的侧壁上开设有相对的两个第一矩形通孔,所述第一弹簧的长度大于所述第一矩形通孔上端面距离所述凹槽底部的距离;所述外壳的底部设有与所述凹槽匹配的立柱,所述立柱为中空结构,所述立柱内垂直设有固定杆,所述立柱两侧分别设有相对的第二矩形通孔和第三矩形通孔,所述固定杆上水平固定有相对的第二弹簧和第三弹簧,所述第二弹簧远离固定杆的一端连接有与所述第一矩形通孔匹配的第一卡块,所述第一卡块穿过第二矩形通孔,所述第三弹簧远离固定杆的一端连接有与所述第一矩形通孔匹配的第二卡块,所述第二卡块穿过第三矩形通孔。

2.根据权利要求1所述的一种噪声检测仪,其特征在于:所述支撑杆为可升降杆。

3.根据权利要求1所述的一种噪声检测仪,其特征在于:所述外壳内底面上设有四个沿竖直方向延伸的用于放置噪声检测本体的支撑柱,所述支撑柱顶端开设有内螺纹孔,所述噪声检测本体上开设有与所述内螺纹孔匹配的通孔,螺丝穿过所述通孔后固定在内螺纹孔中。

4.根据权利要求1所述的一种噪声检测仪,其特征在于:所述出料口处设有密封盖。

5.根据权利要求1所述的一种噪声检测仪,其特征在于:所述外壳上除透音孔的位置处设有防水膜。