欢迎来到知嘟嘟! 联系电话:13336804447 卖家免费入驻,海量在线求购! 卖家免费入驻,海量在线求购!
知嘟嘟
我要发布
联系电话:13336804447
知嘟嘟经纪人
收藏
专利号: 2020203350987
申请人: 商丘师范学院
专利类型:实用新型
专利状态:已下证
专利领域: 乐器;声学
更新日期:2024-01-05
缴费截止日期: 暂无
价格&联系人
年费信息
委托购买

摘要:

权利要求书:

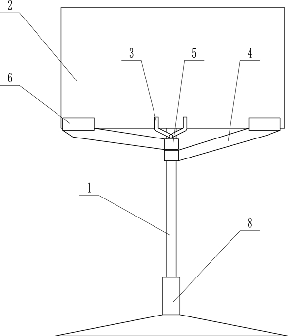
1.一种高稳定性的管号类乐器乐谱支架,它包括底座、主支撑杆、架板和安装卡,其特征在于:它还包括安装在所述主支撑杆上的一对活动支撑杆,所述活动支撑杆的一端为安装环,所述活动支撑杆的另一端为卡接部,所述活动支撑杆通过所述安装环可水平转动的安装在所述主支撑杆上,两活动支撑杆的安装环分上下布置。

2.根据权利要求1所述的高稳定性的管号类乐器乐谱支架,其特征在于:所述活动支撑杆自安装环一侧向卡接部一侧向斜上方倾斜,所述卡接部的卡接高度与所述安装卡的卡接高度一致,使得所述架板的下端三点受力。

3.根据权利要求1或2所述的高稳定性的管号类乐器乐谱支架,其特征在于:所述卡接部为U型卡。

4.根据权利要求3所述的高稳定性的管号类乐器乐谱支架,其特征在于:所述卡接部的后侧高于前侧。

5.根据权利要求4所述的高稳定性的管号类乐器乐谱支架,其特征在于:所述主支撑杆分为主杆和子杆,所述安装卡、所述活动支撑杆均安装在所述子杆上,所述主杆与所述子杆螺纹连接,所述子杆的长度仅限于安装所述安装卡、所述活动支撑杆的安装环。

6.根据权利要求4或5所述的高稳定性的管号类乐器乐谱支架,其特征在于:所述活动支撑杆的活动半径等于所述架板的长度的一半。

7.根据权利要求6所述的高稳定性的管号类乐器乐谱支架,其特征在于:它还包括一背杆,所述背杆的底端可拆卸的安装在所述活动支撑杆的卡接部的后侧。

我要求购
我不想找了,帮我找吧
您有专利需要变现?
我要出售
智能匹配需求,快速出售