欢迎来到知嘟嘟! 联系电话:13336804447 卖家免费入驻,海量在线求购! 卖家免费入驻,海量在线求购!
知嘟嘟
我要发布
联系电话:13336804447
知嘟嘟经纪人
收藏
专利号: 2020200864584
申请人: 广州市向尚教育信息咨询有限公司
专利类型:实用新型
专利状态:已下证
专利领域: 家具;家庭用的物品或设备;咖啡磨;香料磨;一般吸尘器
更新日期:2024-02-27
缴费截止日期: 暂无
价格&联系人
年费信息
委托购买

摘要:

权利要求书:

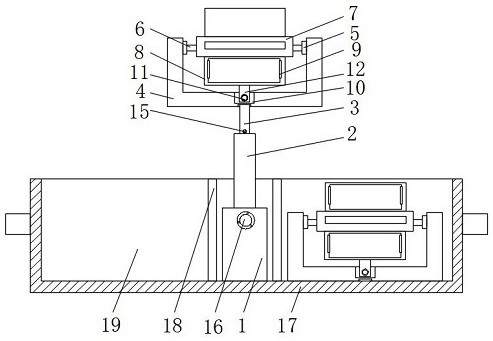
1.一种音乐辅导用乐谱支架,包括第一支架(1),其特征在于:所述第一支架(1)的内部插接有第二支架(2),所述第二支架(2)的内部插接有第三支架(3),所述第三支架(3)的顶部活动连接有摆放装置,所述摆放装置包括U形板(4)、轴承套(5)、转动杆(6)、圆筒(7)和放置板(8),所述轴承套(5)与U形板(4)的内部固定连接,所述转动杆(6)与轴承套(5)的内部活动连接,所述圆筒(7)与转动杆(6)的表面活动连接,所述放置板(8)的一侧与圆筒(7)的侧表面固定连接,所述放置板(8)的一侧固定连接有夹板(9),所述U形板(4)的内部开设有第一凹槽(10),所述第一凹槽(10)的内部固定连接有复位弹簧(11),所述复位弹簧(11)的另一端固定连接有挡板(12),所述挡板(12)由柔性材料制成,所述第三支架(3)的内部开设有第二凹槽(13),所述第二凹槽(13)的内部固定连接有限位弹簧(14),所述限位弹簧(14)的另一端固定连接有限位块(15)。

2.根据权利要求1所述的一种音乐辅导用乐谱支架,其特征在于:所述第一支架(1)的正面螺纹连接有调节旋钮(16),所述调节旋钮(16)背面的一端贯穿第一支架(1)的一端并延伸至第一支架(1)的内部,所述调节旋钮(16)背面的一端与第二支架(2)的侧表面相互抵持。

3.根据权利要求1所述的一种音乐辅导用乐谱支架,其特征在于:所述第一支架(1)的底部固定连接有收纳盒(17),所述收纳盒(17)的内部固定连接有两个隔板(18),两个所述隔板(18)位于第一支架的两侧。

4.根据权利要求3所述的一种音乐辅导用乐谱支架,其特征在于:所述收纳盒(17)内部设置有两个放置腔(19),两个所述放置腔(19)由两个隔板(18)分隔形成。

5.根据权利要求3所述的一种音乐辅导用乐谱支架,其特征在于:所述收纳盒(17)的顶部活动连接有盒盖(20),所述收纳盒(17)的左右两侧均固定连接有把手。

6.根据权利要求1所述的一种音乐辅导用乐谱支架,其特征在于:所述放置板(8)的数量为四个,并且相邻的两个放置板(8)之间均为等距设置。