欢迎来到知嘟嘟! 联系电话:13336804447 卖家免费入驻,海量在线求购! 卖家免费入驻,海量在线求购!
知嘟嘟
我要发布
联系电话:13336804447
知嘟嘟经纪人
收藏
专利号: 2020202470267
申请人: 天津市中天第九机床有限公司
专利类型:实用新型
专利状态:已下证
专利领域: 铁的冶金
更新日期:2025-03-05
缴费截止日期: 暂无
价格&联系人
年费信息
委托购买

摘要:

权利要求书:

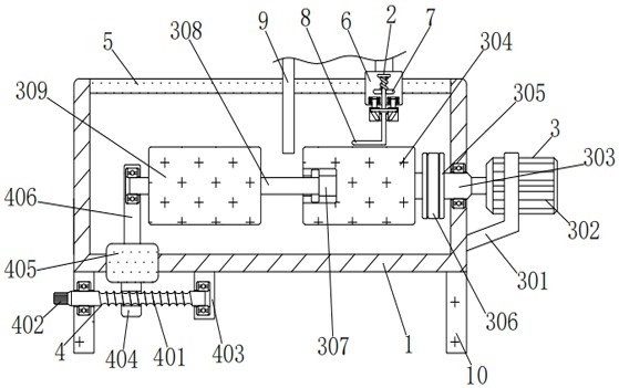
1.一种卧式轧辊翻转数控淬火机床,包括支架(1),其特征在于:所述支架(1)的内壁顶部左右均固接有长杆(5),所述长杆(5)的外部右侧间隙配合有厚板(6),所述厚板(6)的正面固接有横板(7),所述厚板(6)的底部安装有固定机构(2);

所述固定机构(2)包括两个短杆(201)、竖杆(202)、斜槽(203)、横杆(204)、直杆(205)、短板(206)和弹簧(207);

两个所述短杆(201)的顶部分别与厚板(6)的底部左右两侧转动相连,两个所述短杆(201)的顶部均与竖杆(202)的顶部相固接,两个所述竖杆(202)的正面均加工有斜槽(203),两个所述斜槽(203)的内壁分别与横杆(204)的左右两侧滑动卡接,所述横杆(204)的顶部与直杆(205)的底部相固接,所述直杆(205)的外壁与横板(7)的内壁间隙配合,所述直杆(205)的顶部与短板(206)的底部相固接,所述直杆(205)的外壁与弹簧(207)的内壁相套接,所述弹簧(207)的上下两侧分别与短板(206)的底部和横板(7)的顶部相固接,两个所述竖杆(202)的内侧凸起处卡接有弯杆(8)。

2.根据权利要求1所述的一种卧式轧辊翻转数控淬火机床,其特征在于:所述斜槽(203)和横杆(204)组成滑动机构。

3.根据权利要求1所述的一种卧式轧辊翻转数控淬火机床,其特征在于:所述支架(1)的右侧安装有控制机构(3);

所述控制机构(3)包括曲板(301)、电机(302)、粗杆(303)、第一圆筒(304)、槽轮(305)、皮带(306)、滑槽(307)、凸杆(308)和第二圆筒(309);

所述曲板(301)的左侧与支架(1)的右侧下方相固接,所述曲板(301)的内壁与电机(302)的外壁相固接,所述电机(302)的输出端与粗杆(303)的右侧相固接,所述粗杆(303)的外壁与支架(1)的右侧转动相连,所述粗杆(303)的外壁与第一圆筒(304)的内壁相固接,所述粗杆(303)的外壁与槽轮(305)的内壁相固接,所述槽轮(305)的外壁与皮带(306)的内壁转动相连,所述第一圆筒(304)的左侧加工有滑槽(307),所述滑槽(307)的内壁与凸杆(308)的右侧滑动卡接,所述凸杆(308)的外壁与第二圆筒(309)的内壁相固接。

4.根据权利要求1所述的一种卧式轧辊翻转数控淬火机床,其特征在于:所述支架(1)的底部左右两端均固接有底座(10),位于左侧所述底座(10)的内壁安装有调节机构(4);

所述调节机构(4)包括螺纹杆(401)、握把(402)、宽板(403)、套板(404)、方板(405)和长板(406);

所述螺纹杆(401)的外壁与底座(10)的内壁螺纹连接,所述螺纹杆(401)的左侧与握把(402)的右侧相固接,所述螺纹杆(401)的右侧与宽板(403)的左侧转动相连,所述宽板(403)的顶部与支架(1)的底部左侧相固接,所述螺纹杆(401)的外壁与套板(404)的内壁螺纹连接,所述套板(404)的顶部与方板(405)的底部相固接,所述方板(405)的内壁与支架(1)的底部左侧间隙配合,所述方板(405)的顶部与长板(406)的底部相固接,所述长板(406)的右侧上方与凸杆(308)的左侧转动相连。

5.根据权利要求4所述的一种卧式轧辊翻转数控淬火机床,其特征在于:所述螺纹杆(401)和套板(404)组成平移机构。

6.根据权利要求1所述的一种卧式轧辊翻转数控淬火机床,其特征在于:所述长杆(5)的外壁固接有淬火圈(9)。