欢迎来到知嘟嘟! 联系电话:13336804447 卖家免费入驻,海量在线求购! 卖家免费入驻,海量在线求购!
知嘟嘟
我要发布
联系电话:13336804447
知嘟嘟经纪人
收藏
专利号: 202020115171X
申请人: 魏兆阳
专利类型:实用新型
专利状态:已下证
专利领域: 发电、变电或配电
更新日期:2024-04-03
缴费截止日期: 暂无
价格&联系人
年费信息
委托购买

摘要:

权利要求书:

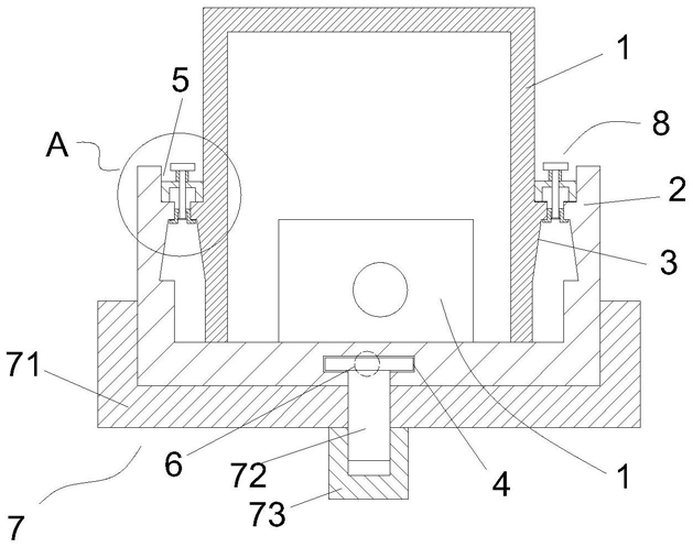
1.一种地铁电机固定支撑装置,包括上壳和下壳,其特征在于:所述上壳侧端设有第一凹陷区,所下壳设有第二凹陷区,所述第一凹陷区和第二凹陷区配合使用且其内均设有凹槽,所述下壳设有一组T型槽,所述T型槽沿下壳体长度方向设置且端头设有封堵,封堵上是设有通孔;还包括用于使上壳和下壳连成整体的锁紧装置以及用于使下壳固定于地铁本体的U型组件,所述锁紧装置包括n型块、与套装于n块中心的螺杆、套装于螺杆的套筒和连成几字型的爪体,所述爪体与螺杆连接。

2.根据权利要求1所述的地铁电机固定支撑装置,其特征在于:所述第一凹陷区和第二凹陷区均设有用于容纳所述n型块的下沉槽。

3.根据权利要求1所述的地铁电机固定支撑装置,其特征在于:所述U型组件包括容纳下壳的U型板、设于U型板上的T型螺栓以及筒式螺母,所述T型螺栓搭接于所述T型槽,所述T型螺栓上端光滑。

4.根据权利要求3所述的地铁电机固定支撑装置,其特征在于:所述T型槽内设有用于限位T型螺栓上端的限位槽。

5.根据权利要求1所述的地铁电机固定支撑装置,其特征在于:所述上壳、下壳、n型块外部均涂有用于防火漆层。

6.根据权利要求1-4任一权利要求所述的地铁电机固定支撑装置,其特征在于:所述上壳为铝制壳体。

我要求购
我不想找了,帮我找吧
您有专利需要变现?
我要出售
智能匹配需求,快速出售