欢迎来到知嘟嘟! 联系电话:13336804447 卖家免费入驻,海量在线求购! 卖家免费入驻,海量在线求购!
知嘟嘟
我要发布
联系电话:13336804447
知嘟嘟经纪人
收藏
专利号: 2020201054476
申请人: 扬州兆丰光伏科技有限公司
专利类型:实用新型
专利状态:已下证
专利领域: 机床;其他类目中不包括的金属加工
更新日期:2024-02-28
缴费截止日期: 暂无
价格&联系人
年费信息
委托购买

摘要:

权利要求书:

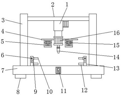
1.一种光伏铝合金边框打孔机,包括基座(7),其特征在于:所述基座(7)的上方设置有两个固定板(3)和两个竖板(13),两个所述竖板(13)位于两个固定板(3)之间,两个所述两个固定板(3)之间固定连接有连接板(2),所述连接板(2)的下方设置有电动推杆(1),所述电动推杆(1)的下方设置有马达(16),所述马达(16)的下方通过转轴转动连接有钻头(14),且马达(16)的两侧均通过螺栓固定连接有支撑板(4),两个所述支撑板(4)的下方均焊接固定有防护筒(5),两个所述防护筒(5)的内部均通过螺栓固定连接有风扇(15),两个所述竖板(13)的一侧均焊接固定有支撑块(12),且两个竖板(13)位于两个支撑块(12)的一侧均开设有滑槽(17),两个所述滑槽(17)的内部均滑动连接有滑块(9),两个所述滑块(9)的一侧均焊接固定有压板(10),所述压板(10)和竖板(13)通过固定销(6)固定连接,所述基座(7)的前表壁设置有电源开关(11),所述电动推杆(1)、风扇(15)和马达(16)均与电源开关(11)电性连接。

2.根据权利要求1所述的一种光伏铝合金边框打孔机,其特征在于:所述基座(7)的下方设置有防滑垫(8)。

3.根据权利要求1所述的一种光伏铝合金边框打孔机,其特征在于:所述滑块(9)和竖板(13)上均开设有与固定销(6)相适配的螺纹孔,所述竖板(13)上的圆孔共开设有三个,且三个圆孔等距离分布。

4.根据权利要求1所述的一种光伏铝合金边框打孔机,其特征在于:所述防护筒(5)为中空形圆柱体结构。

5.根据权利要求1所述的一种光伏铝合金边框打孔机,其特征在于:所述连接板(2)和两个固定板(3)通过焊接固定。

我要求购
我不想找了,帮我找吧
您有专利需要变现?
我要出售
智能匹配需求,快速出售