欢迎来到知嘟嘟! 联系电话:13336804447 卖家免费入驻,海量在线求购! 卖家免费入驻,海量在线求购!
知嘟嘟
我要发布
联系电话:13336804447
知嘟嘟经纪人
收藏
专利号: 2020200421675
申请人: 张云云
专利类型:实用新型
专利状态:已下证
专利领域: 医学或兽医学;卫生学
更新日期:2024-04-17
缴费截止日期: 暂无
价格&联系人
年费信息
委托购买

摘要:

权利要求书:

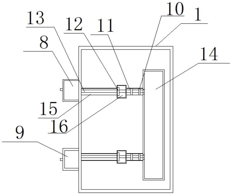
1.一种肝胆外科护理装置,包括壳体(1),其特征在于,所述壳体(1)一侧安装有外壳(3),且所述外壳(3)内安装有转轴(4),所述转轴(4)上缠绕着防护布,防护布的末端连接有移动杆(5),且所述移动杆(5)位于壳体(1)上方,所述壳体(1)顶部开设有药品槽(2),所述药品槽(2)下方安装有小型医疗器械箱(7)和大型医疗器械箱(8),小型医疗器械箱(7)和大型医疗器械箱(8)处于平行状态,所述小型医疗器械箱(7)和大型医疗器械箱(8)的下方安装有感染物垃圾箱(9),且所述感染物垃圾箱(9)后方安装有消毒气罐(14),所述消毒气罐(14)连接有固定气管(11),固定气管(11)连接有消毒箱(16),消毒箱(16)连接有伸缩气管(15),伸缩气管(15)为三个,且三个伸缩气管(15)分别与小型医疗器械箱(7)、大型医疗器械箱(8)和感染物垃圾箱(9)连接,伸缩气管(15)内安装有伸缩柱(13),三个伸缩柱(13)的一端分别固定连接小型医疗器械箱(7)、大型医疗器械箱(8)和感染物垃圾箱(9),且伸缩柱(13)的另一端分别贯穿消毒箱(16)和固定气管(11)后延伸至消毒气罐(14)内,所述伸缩柱(13)上套设有滑动安装于固定气管(11)内的第一堵塞块(10),且所述消毒气罐(14)与固定气管(11)的连接处开设有出气口,第一堵塞块(10)与出气口相配合,所述伸缩柱(13)上套设有滑动安装于消毒箱(16)内的第二堵塞块(12),且所述消毒箱(16)远离消毒气罐(14)的一侧开设有通气口,且所述第二堵塞块(12)与通气口相配合。

2.根据权利要求1所述的一种肝胆外科护理装置,其特征在于,所述感染物垃圾箱(9)的内部用隔板分隔为两个空间,两个空间分别为药物垃圾腔和普通垃圾腔。

3.根据权利要求1所述的一种肝胆外科护理装置,其特征在于,所述药品槽(2)上端对称开设有两个滑槽,所述移动杆(5)下端对称安装有两个滑块,且滑块装配在滑槽内,且所述移动杆(5)通过滑块和滑槽与药品槽(2)相连接,所述药品槽(2)远离外壳(3)的一侧设有挂环(6),所述移动杆(5)上安装有挂钩,且所述挂环与挂钩相配合。

4.根据权利要求1所述的一种肝胆外科护理装置,其特征在于,所述防护布两侧对称安装有两个限位板,且两个限位板对称装配在转轴(4)上,且转轴(4)上对称安装有两个盘簧,且两个盘簧对称设置在外壳(3)两侧内壁上,外壳(3)通过两个盘簧与转轴(4)连接。

5.根据权利要求1所述的一种肝胆外科护理装置,其特征在于,所述伸缩柱(13)上套设有活塞,活塞滑动安装于固定气管(11)内。