欢迎来到知嘟嘟! 联系电话:13336804447 卖家免费入驻,海量在线求购! 卖家免费入驻,海量在线求购!
知嘟嘟
我要发布
联系电话:13336804447
知嘟嘟经纪人
收藏
专利号: 2020113029747
申请人: 泉芯集成电路制造(济南)有限公司
专利类型:发明专利
专利状态:已下证
专利领域: 基本电气元件
更新日期:2025-01-21
缴费截止日期: 暂无
价格&联系人
年费信息
委托购买

摘要:

权利要求书:

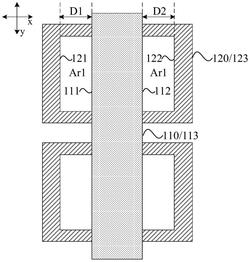
1.一种套刻对准标记,其特征在于,包括:

位于待测晶片上的当层标记图案和位于相对于所述当层标记图案的前层标记图案;

在所述待测晶片的厚度方向上,所述前层标记图案沿第一方向延伸的第一侧边的至少部分、第二侧边的至少部分和所述当层标记图案暴露;所述第一侧边和所述第二侧边为所述前层标记图案在第二方向上相对的两条侧边,且所述第一侧边和所述第二侧边在所述第一方向上对称;

且在平行于所述待测晶片表面的方向上,在所述第一侧边与所述前层标记图案之间以及所述第二侧边与所述前层标记图案之间,所述待测晶片包括刻蚀区,在所述刻蚀区,所述当层标记图案所在当层被完全刻蚀;

所述第二方向为套刻误差测量方向,所述第一方向与所述第二方向相交;

所述当层标记图案包括至少两个第一实体图案,所述前层标记图案包括至少一个第二实体图案,所述第一实体图案和所述第二实体图案位于同一层上且间隔设置,在所述第二方向上,位于两所述第一实体图案之间的第二实体图案在第二方向上相对的两条侧边分别作为所述第一侧边和所述第二侧边。

2.根据权利要求1所述的套刻对准标记,其特征在于,所述当层标记图案包括第一实体图案,所述前层标记图案包括第一镂空图案,所述第一实体图案在所述前层上的正交投影位于所述第一镂空图案的第一侧边和第二侧边之间。

3.根据权利要求2所述的套刻对准标记,其特征在于,所述前层与所述当层相邻。

4.根据权利要求1所述的套刻对准标记,其特征在于,所述当层标记图案包括至少一个第一实体图案,所述前层标记图案包括至少两个第二实体图案,所述第一实体图案和所述第二实体图案位于同一层上且间隔设置,在所述第二方向上,位于所述第一实体图案两侧的两个第二实体图案中,在第一侧的第二实体图案中,在第二方向上距离所述第一实体图案最近的侧边作为第一侧边,在第二侧的第二实体图案中,在第二方向上距离所述第一实体图案最近的侧边作为第二侧边。

5.根据权利要求1或4所述的套刻对准标记,其特征在于,所述第一实体图案和所述第二实体图案形状相同且平行设置。

6.根据权利要求1所述的套刻对准标记,其特征在于,所述当层标记图案包括第二镂空图案,所述前层标记图案包括第三实体图案,在所述待测晶片的厚度方向上,所述第二镂空图案中暴露有至少部分第三实体图案;且所述第三实体图案被暴露部分包括至少部分第一侧边和至少部分第二侧边。

7.根据权利要求6所述的套刻对准标记,其特征在于,所述前层与所述当层相邻或者间隔。

8.根据权利要求2或6所述的套刻对准标记,其特征在于,在所述第二方向上,镂空图案的尺寸大于或者等于实体图案尺寸的1.5倍。

9.一种套刻误差测量方法,其特征在于,用于对待测晶片的套刻误差进行测量,所述待测晶片包括权利要求1‑8任一项的套刻对准标记,所述套刻误差测量方法包括:获取待测晶片的表面的形貌信息;

根据所述待测晶片的表面形貌信息计算在第二方向上,所述第一侧边和所述第二侧边分别与前层标记图案的最小距离;

将所述第一侧边与所述前层标记图案最小距离和所述第二侧边与所述前层标记图案的最小距离的差值确定为套刻误差。