欢迎来到知嘟嘟! 联系电话:13336804447 卖家免费入驻,海量在线求购! 卖家免费入驻,海量在线求购!
知嘟嘟
我要发布
联系电话:13336804447
知嘟嘟经纪人
收藏
专利号: 2020112654064
申请人: 金华市东山机械厂
专利类型:发明专利
专利状态:已下证
专利领域: 卷扬;提升;牵引
更新日期:2025-12-10
缴费截止日期: 暂无
价格&联系人
年费信息
委托购买

摘要:

权利要求书:

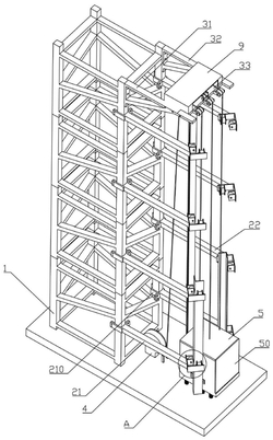
1.一种塔吊载人提升装置,其特征在于:包括塔身,所述塔身的两侧分别等间距固定安装有多个第一导轨和多个第二导轨,所述第一导轨和第二导轨之间安装有箱体,所述塔身的顶部设置为塔顶,所述塔顶的两侧分别固定安装有第一支撑架和第二支撑架,所述第一支撑架和第二支撑架之间固定安装有固定板,所述固定板上分别固定安装有第一卷扬机和第二卷扬机,所述第一卷扬机上固定连接有第一连接绳,所述第一连接绳的末端连接在箱体的一侧,所述第二卷扬机上固定连接有第二连接绳,所述第二连接绳的末端连接在箱体的另一侧,所述固定板上于第一卷扬机处固定安装有第二安装座,所述第二安装座上转动安装有第二滚轮,所述第一连接绳绕过第二滚轮,并连接在箱体的一侧,所述固定板上于第二卷扬机处固定安装有第三安装座,所述第三安装座上转动安装有第三滚轮,所述第二连接绳绕过第三滚轮,并连接在箱体的另一侧,所述箱体的内壁两侧分别固定安装有第一锁紧组件和第二锁紧组件,所述第一锁紧组件和第二锁紧组件结构相同,所述第一连接绳与第一锁紧组件连接,所述第二连接绳与第二锁紧组件连接,所述塔身与箱体之间安装有卷尺组件,所述固定板与地面之间固定安装有缓冲板,所述箱体内安装有缓冲机构,所述箱体上开设有安装槽,所述缓冲机构部分穿出安装槽,并与缓冲板滑动连接,所述缓冲机构包括夹具组件和卷动组件,所述夹具组件包括第一夹板件、第二夹板件和第一弹簧,所述第一夹板件和第二夹板件结构相同,所述第一夹板件上固定设置有第一安装块,所述第二夹板件上固定设置有第二安装块,所述第一安装块和第二安装块上转动穿设有同一连接轴,所述第一弹簧的一端固定连接在第一夹板件上,另一端连接在第二夹板件上,所述第一夹板件包括夹板和卡块,所述卡块固定安装在夹板上,所述缓冲板的两侧分别开设有第一滑槽和第二滑槽,所述第一夹板件中的卡块滑动安装在第一滑槽内,所述第二夹板件中的卡块滑动安装在第二滑槽内。

2.根据权利要求1所述的一种塔吊载人提升装置,其特征在于:所述卡块的一面开设有多个第一盲孔,所述卡块上于第一盲孔的底部开设有第二盲孔,所述第一盲孔内安装有第二弹簧和第一卡接柱,所述第一卡接柱的截面呈“T”形,所述第二弹簧的一端固定连接在第一盲孔的底部,另一端与第一卡接柱固定连接,所述卡块的两侧面均开设有第三盲孔,所述第三盲孔的底部开设有通孔,所述通孔与第二盲孔以及第三盲孔连通,所述第三盲孔内安装有第三弹簧和第二卡接柱,所述第二卡接柱的截面呈“T”形,所述第三弹簧的一端固定连接在第三盲孔的底部,另一端固定连接在第二卡接柱上,所述第二卡接柱的末端呈斜面。

3.根据权利要求2所述的一种塔吊载人提升装置,其特征在于:所述卷动组件包括第一支撑板、第二支撑板、转动轴、支撑块、“工”字板、压紧块和第四连接绳,所述第一夹板件上固定安装有第一传动柱,所述第二夹板件上固定安装有第二传动柱,所述支撑块固定安装在第一传动柱上,所述“工”字板安装在支撑块上,所述第四连接绳的一端固定缠绕在“工”字板上,所述压紧块安装在“工”字板上,所述第二传动柱上固定安装有第一限位环和第二限位环,所述第四连接绳绕过第一限位环和第二限位环之间,所述支撑块的一侧固定安装有第八安装座,所述第八安装座上转动安装有第八滚轮,所述第四连接绳绕过第八滚轮,所述第一支撑板固定安装在箱体内,所述第二支撑板固定安装在箱体的一侧,所述转动轴转动安装在第一支撑板和第二支撑板之间,所述转动轴于第一支撑板和第二支撑板外分别安装有第三限位环和第四限位环,所述第四连接绳绕过第八滚轮后固定缠绕在转动轴上,所述转动轴于第一支撑板外固定安装有第二手柄。

4.根据权利要求3所述的一种塔吊载人提升装置,其特征在于:所述第二手柄上设置有橡胶套。

5.根据权利要求4所述的一种塔吊载人提升装置,其特征在于:所述卷尺组件包括连接块、第一端盖、第二端盖、卷筒、盘簧和第三连接绳,所述连接块固定连接在第一端盖上,所述卷筒安装在第一端盖上,所述卷筒内转动安装有鼓轮,所述盘簧的一端与鼓轮连接,另一端与第三连接绳固定连接,所述第二端盖安装在第一端盖上,所述第一端盖上开设有通槽,所述第三连接绳穿出通槽,所述卷尺组件与箱体之间安装有第四安装座,所述第四安装座上转动安装有第四滚轮,所述固定板的一端安装有第五安装座,另一端安装有第六安装座和第七安装座,所述第五安装座上转动安装有第五滚轮,所述第六安装座上转动安装有第六滚轮,所述第七安装座上转动安装有第七滚轮,所述第三连接绳绕过第四滚轮、第五滚轮、第六滚轮和第七滚轮,并与箱体固定连接。

6.根据权利要求5所述的一种塔吊载人提升装置,其特征在于:所述第一导轨和第二导轨的结构相同,所述第一导轨包括连接臂、连接板、两个第一安装座和两个第一滚轮,所述连接臂的一端连接在塔身上,所述连接臂于塔身相接的另一面安装有扣板,所述扣板与连接臂固定连接,所述连接臂的末端与连接板固定连接,所述连接板呈L形,一个所述第一安装座固定安装在连接板L形的一端,一个所述第一滚轮转动安装在第一安装座上,另一个所述第一安装座固定安装在连接板L形的另一端,另一个所述第一滚轮转动安装在另一个第一安装座上,两个所述第一滚轮呈90度直角,两个所述第一滚轮之间滑动安装有移动板,所述移动板呈L形,所述箱体的两侧分别固定安装有第一固定块,所述移动板上固定安装有第二固定块。

7.根据权利要求6所述的一种塔吊载人提升装置,其特征在于:所述第一锁紧组件包括安装板、垫片、螺柱、螺帽和卡柱,所述安装板固定安装在箱体的内壁上,所述螺柱固定安装在安装板下方,所述垫片和螺帽均螺接在螺柱上,所述第一连接绳穿设过安装板,并缠绕在螺柱上,所述第一连接绳缠绕在螺柱上的部分位于垫片和螺帽之间。

8.根据权利要求7所述的一种塔吊载人提升装置,其特征在于:所述第一连接绳的末端固定安装有挂钩,所述卡柱固定安装在安装板上,所述挂钩挂在卡柱上。

9.根据权利要求8所述的一种塔吊载人提升装置,其特征在于:所述箱体的底部固定设置有多个减震弹簧。